12v变5v电源的方法有哪些? 随着现代电子设备的广泛使用,12V电源和5V电源都变得越来越普遍。在许多情况下,我们需要将电气设备的电源从12V转换为5V,以满足特定设备的要求。常见的应用场景包括
2023-08-18 14:36:02
2652 求5V变到12V的升压电路 或者 12V到5V的降压电路感激不尽 各位大神
2012-07-27 21:06:55
12V电子变压器电路图
2022-02-07 09:52:14
48 5V转12V和18V转12V的电源芯片,适合1-5A大电流应用等,根据不同的输入电压来选择,15V和18V转12V解决方案比较推荐:DC-DC降压电路了。DC-DC降压电路: DC-DC
2022-01-12 12:18:00
37 5V版本:低功耗LDO电路:适应于12V输入和20V输入PW6206产品,是一颗输入3V-40V的宽输入电压线性LDO芯片,功耗4uA左右。输出电压版本:3V,3.3V,5V。 LDO芯片 输入电压 输出电压...
2022-01-05 14:42:08
22 12V转5V应用中,大多要求会输出电流高的,稳压LDO就不能满足了,需要使用DC-DC降压芯片来持续稳压5V,输出电流1000MA,2000MA,3000MA,5000MA等。不同的输出电流可以选择
2021-11-08 12:51:03
49 12V转5V应用中,大多要求会输出电流高的,稳压LDO就不能满足了,需要使用DC-DC降压芯片来持续稳压5V,输出电流1000MA,2000MA,3000MA,5000MA等。不同的输出电流可以选择
2021-11-08 12:05:59
12 220V降5V芯片,220V降12V电源芯片模块220V降5V芯片,220V降12V芯片,交流220V降直流12V芯片,220V降12V高压降压IC,220V降12V智能开关电源芯片,220V降
2021-11-07 12:06:00
113 220V转12V芯片,220V降5V芯片,交流220V转直流12V芯片,220V转12V高压降压ic,220V转12V智能开关电源芯片,220V降12V非隔离降压ic,交流220V降直流12V芯片
2021-08-17 15:48:10
1579 
LT8582演示电路-1.5 MHz+5V至±12V双转换器(5V至±12V@550 mA)
2021-06-09 10:18:02
8 12V转5V应用中,大多要求会输出电流高的,稳压LDO就不能满足了,需要使用DC-DC降压芯片来持续稳压5V,输出电流1000MA,2000MA,3000MA,5000MA等。不同的输出电流可以选择适合的降压芯片来使用。
2021-03-17 09:06:00
97 12V 供电电压输入和 20V 供电电压输入转 5V 输出,恒压稳定输出 5V 这个是比较简单的,合适的芯片也是选择很多。 12V 输入和 20V 输入两个电压相差有点多,所以在芯片选择时,也会有所以不同。
2020-12-08 08:00:00
6 9V 降压 5V,12V 降压 5V 降压芯片和 LDO,稳压芯片选型,几款降压芯片方案,电源芯片方案,降压芯片方案,大电流 3A 方案和 LDO,3A 和 40V 耐压 LDO,低功耗恒压稳压芯片
2020-12-08 08:00:00
47 12V 供电电压输入和 20V 供电电压输入转 5V 输出,恒压稳定输出 5V 这个是比较简单的,合适的芯片也是选择很多。 12V 输入和 20V 输入两个电压相差有点多,所以在芯片选择时,也会有所以不同。
2020-11-30 08:00:00
21 9V 降压 5V,12V 降压 5V 降压芯片和 LDO,稳压芯片选型,几款降压芯片方案,电源芯片方案,降压芯片方案,大电流 3A 方案和 LDO,3A 和 40V 耐压 LDO,低功耗恒压稳压芯片
2020-11-30 08:00:00
39 12V降压5V,12V降压3.3V的5A芯片规格书,和LDO选型表
2020-11-25 17:53:26
31 12V转5V,12V转3.3V降压芯片规格书和选型表
2020-11-25 17:52:51
122 本文档的主要内容详细介绍的是HY2120电池保护芯片的5V输入充电电路和12V输入输入充电电路原理图。
2020-11-12 08:00:00
35 USB限流芯片,输入5V,9V,12V负载开关IC,4.8A可调
2020-11-06 14:29:48
20 下面介绍常用的5V电源转化为2.4V的电源电路设计。
2020-08-22 11:27:53
8491 
本文档的主要内容详细介绍的是使用PW2162芯片9V和12V输入输出5V的电路图和PCB免费下载。
2020-07-14 08:00:00
63 DC12V转化为DC9V,可以使用降压芯片来实现,由于压差只有3V,且12V电压不是很高,所以可供选择的芯片方案有很多,如7809,LM2596,LM317等。
2020-03-28 09:46:20
17979 这个电路将正负12V转正负5V电路,电路简单,为线性稳压电源,效率有点低,只有42%,因此不适合大电流应用,LM317如果使用TO-220封装,不装散热片情况下输出几百毫安电流就比较热了,因此最好安装上散热器。
2019-01-26 15:27:00
17269 
12V转5V的7805稳压电路图:连接如下图,散热片一般用铝型材,简单些用铝片也可以。
2018-07-24 10:18:48
111462 
对平时逻辑电路的设计与使用过程中,我们经常用到12V的电源,这时我们就需要一个电源电路将我们所能得到的220V的交流电转化为我们实验室中所需要的12V的直流电。本次设计就是针对这种实际应用而进行
2018-04-04 09:30:19
46864 
本文主要介绍了5v升压12v电路图大全(十款5v升压12v电路原理图详解)。方案一中的MC34063本身包含了DC/DC变换器所需要的主要功能的单片控制电路且价格便宜。它由具有温度自动补偿功能的基准
2018-03-26 11:13:00
171387 
本文主要介绍了自制12v转5v手机充电器(几款12v转5v充电电路原理图详解)。充电电路工作原理为充电器的输人电源为直流12V,经VD1和IC2(LM78LO5)后输出稳定的5V电压供微处理器,12V电源同时经VD2为电池充电电路供电。下面跟小编一起来看看几款12v转5v充电电路原理图详解。
2018-01-22 14:07:51
108371 
LM317T转5-3V电路图,LM317,LM317T转5-3V电路图
2015-11-24 10:37:32
28 5V升12V稳压电源电路
2010-03-30 10:39:39
3182 
24V转5V电路图
2010-03-05 17:30:07
19548 
5v转12v电路图 (5Vto12V的芯片IC有哪些)
芯片:输入5V得到12
2010-03-05 17:17:04
20087 
直流12V转220V交流逆变器电路图 (500W)
直流12V转220V交流逆变器电路图可以转换为12V直流转220伏交流
2010-03-05 16:10:34
39574 
220v转12v电路图
本电源能同时产生正负两路电压输出,它由全波整,取样放大,电压调整等电路组成。
2010-03-05 16:08:03
14820 
12v转9v电路图 (12 volt to 9Volt dc converter)
2010-03-05 15:53:45
16922 
对5V反向调节器增加12V输出的电路
2009-10-05 14:01:42
675 
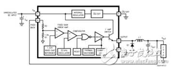
LT3050应用电路(12V输入,输出5V,100ma)
Typical Application
2009-09-20 07:35:54
1046 
用5V电源进行工作的电路图
2009-08-06 14:48:34
780 
用两节电池产生+5V、+12V的电路
由电池供电的便携式电子产品一般都采用低电源电压,这样可减少电池数量,达到减小产品尺寸及重量的目的,故一般常用3~5V作为工作
2009-07-29 14:40:45
3032 
12v转换器电路图
2009-07-16 19:07:11
1539 
12V自动充电器电路图
2009-05-29 13:13:05
7576 
12V充电电路图
2009-05-29 13:05:31
1965 
8A,12V充电电路图
2009-05-29 13:03:23
1698 
12v变220v电路图
2009-05-20 17:00:48
5767 
12v充电器电路图
12V充电电路图
2009-05-20 16:33:25
11734 
具有对称5V、12V稳压电源电路图
2009-05-13 15:25:43
1596 
12V电压输出电路图
2009-05-13 14:59:18
990 
5V转换成12V的调压器电路图
2009-05-13 14:58:54
1119 
5V、12V双电源电路图
2009-05-13 13:29:22
6518 
2节电池升压到3.3V、5V、12V的DC-DC变换器电路图
2009-05-11 12:58:23
4486 
1节电池升压到5V、12V的DC-DC变换器电路图
2009-05-11 12:57:58
2596 
简单的12V充电电路图
2009-04-17 11:28:18
2450 
正5v、正负12v稳压电源电路及制作
2009-04-14 16:06:12
26
12V电池充电器电路图
2009-03-19 10:38:46
6869 
12V变24V电路图
L1用直径2cm的磁环,1.7的聚酯漆包线紧密穿绕35匝,然后用硅橡胶密封,否则容易产生滋滋声。
2009-03-06 22:00:57
10048 
简单的12V充电电路图
2009-01-10 12:13:42
1207 
12V镍镉电池充电电路图
2009-01-10 12:01:14
2020 
12V充电电路图
2009-01-10 11:59:02
2040 
8A 12V充电电路图
2009-01-10 11:57:57
1583 
48v转12v电路图
2008-11-09 00:44:52
17622 
LM2592应用电路(输入12V,输出5v)
LM2592 pdf,L
2008-09-20 15:03:38
4780 
LM2590应用电路(输入12V,输出5v)
2008-09-20 15:01:11
2673 
12v逆变器电路图:3000VA Power-inverter 12V-230V modified sinus
2008-07-30 17:00:34
20033 
正负5V,12V
2008-06-04 10:03:22
12956 
5V转换成12V的调压器电路图
2008-05-06 23:18:10
2492 
(buck) switchingregulator. Fixed versions are available with a 3.3V, 5V, 12V,fixed output. Adjustable versions have an output v
2008-05-05 21:08:31
288 12v稳压可调电路图
6--12V直流稳压器:可在6到12V范围可调。
2008-01-12 10:48:13
14889 
12v逆变电路图
2007-12-08 10:51:34
2052 
5v升12v的ic有
AIC1630A,LM2585-ADJ,MC34063,TCC1301,MAX232
等,具体电路,可查看其相关DATASHEET,
MC
2007-12-03 22:37:21
7712 
5v升12v的ic
AIC1630A,LM2585-ADJ,MC34063,TCC1301,MAX232
等,具体电路,可查看其相关DATASHEET,
MC340
2007-12-03 22:33:42
2024 
12V输出电压的反相电路图(输出负12V)
2007-12-03 22:27:03
6875 
评论