在学习嵌入式系统的过程中,定时器有关内容的学习是必不可少的一个环节。定时器定时功能的实现,最主要的还是靠其内部的计数器。那么,计数器是如何实现计数功能的呢?接下来就来简单介绍一下计数器的实现电路。
2023-09-25 14:18:48
238 
在数字电子产品中,计数器是由一系列触发器组成的时序逻辑电路。顾名思义,计数器用于计算输入在负或正边沿转换中出现的次数。根据触发触发器的方式,计数器可以分为两类:同步计数器和异步计数器。了解这两种计数器的工作原理以及它们之间的区别。
2023-03-25 17:31:07
11617 
FX2N系列PLC的32位加减双向计数器(设定值-2147483648~2147483647)
Ø 通用加/减双向计数器:C200~C219(20点);
Ø 停电保持加/减双向计数器:C220~C234(15点);
2023-01-29 15:20:22
1124 multisim仿真四位计数器资料分享
2022-07-23 09:57:41
1 1、了解时序电路的经典设计方法(D触发器、JK触发器和一般逻辑门组成的时序逻辑电路)。
2、了解同步计数器,异步计数器的使用方法。
3、了解同步计数器通过清零阻塞法和预显数法得到循环任意进制
2022-07-10 14:37:37
15 由SG3524组成的PWM电源电路
2008-12-07 19:17:50
定时器/计数器的实质是加1计数器(16位),由高8位和低8位两个寄存器组成。TMOD是定时器/计数器的工作方式寄存器,确定工作方式和功能;TCON是控制寄存器,控制T0、T1的启动和停止及设置溢出标志。
2022-02-09 11:52:10
4 。计数器字用于存储其当前计数值。接触点的状态由计数器位的状态决定。使用计数器地址(C和计数器编号,如C24)访问当前计数值和计数器位、带位操作数的指令访问计数器位和带字操作数的指令访问计数器的计数值。只有计数器指令可以访问计数器
2021-12-21 16:27:37
2272 目录C51定时器计数器电路图定时/计数器的结构和工作原理相关寄存器C51定时器计数器电路图定时/计数器的结构和工作原理定时/计数器的实质是加1计数器(16位),由高8位和低8位两个寄存器TH1
2021-11-29 12:21:03
14 计数器(Counter)由基本的计数单元和控制门所组成,是在数字系统中对脉冲的个数进行计数,以实现测量、计数和控制功能,且兼有分频功能的仪器。计数器按进位制不同,分为二进制计数器和十进制计数器;按
2021-11-25 18:06:07
32 定时器/计数器的结构定时器/计数器最核心的部分就是两个16位加法计数器,每个16位加法计数器又有高八位(THx)和低八位(TLx)当位定时器模式时,输入的时钟脉冲由单片机内部晶振经12分频后得到
2021-11-23 16:20:46
14 一 TMOD寄存器(定时/计数器的工作方式寄存器)1.GATE(门控位):GATE=0——定时器受外部信号源影响GATE=1——用软件使TR0/TR1=1同时使INT0/INT1为高电平2.C/T
2021-11-22 16:36:03
8 单片机stc89c52rc中有两个定时器/计数器,T0和T1。每个定时器/计数器既可以实现定时功能,也可以实现计数功能。定时器/计数器的结构:定时器/计数器的实质是加1计数器(16位),由高8位和低
2021-11-14 18:21:01
10 定时器组成介绍工作逻辑逻辑结构工作方式寄存器 TMDO控制寄存器 TCON工作逻辑定时、计数器的工作原理如下:逻辑结构 51单片机内部有两个16位的可编程定时、计数器由T0、T1、工作方式寄存器
2021-11-12 11:36:00
10 单元和一些控制门所组成,计数单元则由一系列具有存储信息功能的各类触发器构成,这些触发器有RS触发器、T触发器、D触发器及JK触发器等。 如何用二进制加法计数器芯片接成计数长度为6的计数器? 其实很简单:用两片级联,第一片
2021-07-13 14:09:37
11289 该计数器是一个3位二进制异步减法计数器,它与前面介绍过的3位二进制异步加法计 数器一样,是由3个JK触发器组成,其中J、K端都悬空(相当于J=1、K=1),两者的不同 之处在于,减法计数器是将前一个触发器的Q非端与下一个触发器的CP端相连。
2021-04-18 11:19:47
15455 
4040B组成的LED显示计数器电路。
2021-03-22 11:21:07
6 555组成的载波振荡器电路。
2021-03-22 11:19:16
25 十进制计数器是人们最常用的计数器,但在某些特殊的计数场合下,也需要其他进制的计数器。
2020-01-14 09:46:48
6705 
1.定时器/计数器的工作方式0
(1)电路逻辑结构
当图6-7中的计数器=13位(TH的8位与TL低5位)即得方式0的逻辑电路图。
(2)工作方式0的特点
①两个定时器/计数器T0、T1均可
2019-10-12 16:21:07
5 本文主要介绍了电子计数器电路图及电子计数器的接线方法。
2019-09-26 10:06:37
41514 
本文主要介绍了电子计数器工作原理及电子计数器的基本组成及各部分功能。
2019-09-26 09:55:57
32774 
1 工作方式0 定时器/计数器的工作方式0称之为13位定时/计数方式。它由TL(1/0)的低5位和TH(0/1)的8位组成13位的计数器,此时TL(1/0)的高3位未用。 我们用这个图来讨论几个问题: M1M0:定时/计数器一共有四种工作方式,就是用M1M0来控制的,2位正好是四
2019-09-03 17:27:00
4 89C51有两个计数器T0和T1,每个计数器都是由两个8位的RAM 单元组成的,即每个计数器都是16 位的计数器,最大的计数容量是2的6次方=65536,记住是从0-65535。
2019-08-29 17:29:00
4 定时/计数器的实质是加1计数器(16位),由高8位和低8位两个寄存器组成。80C51单片机定时/计数器的工作是由两个特殊功能寄存器控制的。TMOD是定时/计数器的工作方式寄存器,确定工作方式和功能
2019-08-21 17:31:00
1 定时器/计数器的工作方式0称之为13位定时/计数方式。它由TL(1/0)的低5位和TH(0/1)的8位组成13位的计数器,此时TL(1/0)的高3位未用。
2019-03-28 14:29:53
5598 
电路如附图,采用一片六反相器数字集成电路74HCU04组成,可同时输出矩形波、三角波和正弦波三种信号,信号频率在10Hz~1MHz连续可调。A~F为六个反相器,A和C1组成积分器,B、C、R2、R3组成施密特电路,当把施密特电路的输出信号通过R1和RP1反馈至积分器输入端时,就组成一个方波振荡器。
2019-02-16 11:31:10
6856 
计数是一种最简单基本的运算,计数器就是实现这种运算的逻辑电路,计数器在数字系统中主要是对脉冲的个数进行计数,以实现测量、计数和控制的功能,同时兼有分频功能,计数器是由基本的计数单元和一些控制门所组成
2019-01-24 14:35:40
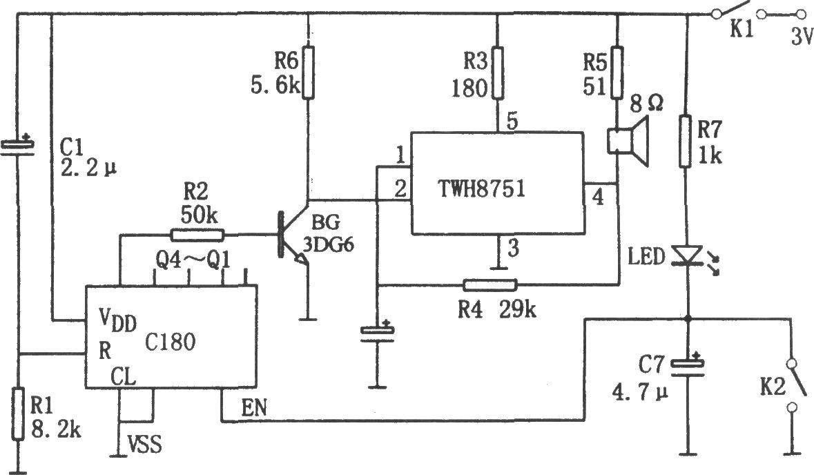
62199 关该电路主要由计数器C180和TWH8751组成。其中TWH8751组成振荡器,其振荡频率约为1kHz。 电路中计数开关K2由在135胶卷的小孔位置用环氧树脂固定的黄铜接触片所引出的一根导线与机体构成,当135卷片移动时,每跳过一个小方孔,则接触片与机体接触一次,产生一个计数信号。
2018-06-06 15:40:00
721 
本文主要介绍了CD40110组成的一位数码计数器。CD40110为十进制可逆计数器/锁存器/译码器/驱动器,具有加减计数,计数器状态锁存,七段显示译码输出等功能。CD40110有2个计数时钟输入端
2018-03-04 11:17:34
18394 计数是一种最简单基本的运算,计数器就是实现这种运算的逻辑电路,计数器在数字系统中主要是对脉冲的个数进行计数,以实现测量、计数和控制的功能,同时兼有分频功能,计数器是由基本的计数单元和一些控制门所组成
2018-02-24 15:31:08
43744 本文开始对CD4017功能与CD4017逻辑结构图进行了介绍,其次分别介绍了用CD4017和选择开关组成多进制计数器、CD4017组成的1/n计数器电路与用CD4017组成1~17进制计数器电路图。
2018-01-31 13:58:06
22819 
74ls290是一个二,五,十进制计数器,本文为大家介绍由74ls290构成的各种进制计数器的电路。
2018-01-26 09:26:11
106188 
计数器由基本的计数单元和一些控制门所组成,计数单元则由一系列具有存储信息功能的各类触发器构成。计数器在数字系统中应用广泛,如在电子计算机的控制器中对指令地址进行计数。
2018-01-25 16:23:51
45072 
计数器在数字系统中应用广泛,如在电子计算机的控制器中对指令地址进行计数,以便顺序取出下一条指令,在运算器中作乘法、除法运算时记下加法、减法次数,又如在数字仪器中对脉冲的计数等等。本文为大家介绍74LS290组成的十进制计数器。
2018-01-25 14:52:47
25181 
定时器/计数器的结构定时器/计数器的实质是加1计数器(16位),由高8位和低8位两个寄存器组成。TMOD是定
2018-01-22 11:17:10
17254 
本文主要介绍了74ls160构成24进制计数器电路设计。本设计采用异步清零。由两片十进制同步加法计数器74LS160和一片与非门74LS00以及相应的电阻开关组成。由外加送来的计数脉冲送入两个计数器
2018-01-18 15:43:05
145644 
本文主要介绍了74LS161集成计数器电路(2、3、4、6、8、10、60进制计数器)。74LS161是4位二进制同步计数器,该计数器能同步并行预置数据,具有清零置数,计数和保持功能,具有进位输出端
2018-01-18 10:56:39
324594 
环形计数器是由移位寄存器加上一定的反馈电路构成的,用移位寄存器构成环形计数器的一般框图,它是由一个移位寄存器和一个组合反馈逻辑电路闭环构成,反馈电路的输出接向移位寄存器的串行输入端,反馈电路的输入端根据移位寄存器计数器类型的不同,可接向移位寄存器的串行输出端或某些触发器的输出端。
2018-01-16 14:54:44
40935 
定时器/计数器的实质是加1计数器(16位),由高8位和低8位两个寄存器组成。TMOD是定时器/计数器的工作方式寄存器,确定工作方式和功能;TCON是控制寄存器,控制T0、T1的启动和停止及设置溢出标志。
2017-12-29 06:50:00
11094 
集成计数器常见的是多位二进制计数器及十进制计数器,当需要实现其它进制计数器时,通常利用现有的集成计数器进行适当的连接而构成。对于当设计要求没有限定计数器的状态编码时电路设计的灵活性问题已有文献进行
2017-11-09 16:36:16
81 计数是一种最简单基本的运算,计数器就是实现这种运算的逻辑电路,计数器在数字系统中主要是对脉冲的个数进行计数,以实现测量、计数和控制的功能,同时兼有分频功能,计数器是由基本的计数单元和一些控制门所组成
2017-09-25 10:13:37
8 计数器是常用的时序逻辑电路器件,文中介绍了以四位同步二进制集成计数器74LS161和异步二-五-十模值计数器74LS290为主要芯片,设计实现了任意模值计数器电路,并用Multisim软件进行了
2013-07-26 11:38:41
133 CC4060 由一震荡器和14 极二进制串行计数器位组成,震荡器的结构可以是RC 或晶振电路。CR 为高电平时,计数器清零且振荡器使用无效,所有的计数器位均为主从触发器。
2012-03-29 15:01:57
196 锁控防盗报警电路图,该电路由RS触发器、选通振荡器、报警电路等组成。其中RS触发器由与非门F2、F3组成,选通振荡器由集成电路TWH8751和R、C组成。
2012-03-28 14:30:02
3464 
盖革计数器电路图由三极管,变压器,以及晶体耳机接口,盖革计算管CV2249组成。供电电源为正负9V。
2011-12-17 20:27:25
13723 
如图所示的 数字电路 组成的计数器是采用红外线作检测信号,对活动目标扫描计数的小装置,很适用于生产线,对传送带上移动的物品进行快速而准确的计数。也可用于其他目的,例
2011-09-18 11:41:54
7571 
555组成的电子镇流器电路如图所示,电子镇流器由降压整流电路、多谐振荡器信源、施密特触发器及推动级组成。
2011-07-13 09:13:28
2728 
简介 ADuC702x系列的输出端有一个片内可编程逻辑阵列,它 由16个带触发器的门电路组成。该胶连逻辑可以用于实现 不同的功能。本应用笔记说明如何实现一个3位计数器, 但同样的原理
2011-04-11 15:48:30
33 1、由CD4060构成的看门狗电路
由CD4060组成看门狗电路如图所示。CD4060为14位二进制
2010-12-16 16:53:10
3536 
图中是将两片ICM7217级联后构成的8位十进抽可逆计数器电路,计数范围扩展为0~99999999.IC1是低位计数器,配LED1~LED
2010-12-10 14:12:44
2438 
使用一片ICM7217A配4只共阴极LED数码管,可构成4位十进制可逆计数器,其
2010-12-10 13:55:24
6871 
图中所示是LD082组成61键电子(风)琴电路.电路中要用到12只七级二进制计数器/分频器4024,CD4024是非同步二进制计数
2010-10-21 10:58:11
2011 
C183与C180基本上是一样的,不同的仅是计数码制不同,C180是2-10进制,C183是四位二进制.C183的管脚外引线排列和功用
2010-10-19 15:48:59
1042 
C182可预置数1/N计数器基本上是一个减法计数器,均由四个"T"型触发器和附加控制门组成,具有级连N个计数器
2010-10-19 15:23:07
963 
图中所示是用C180 2-10进制同步加法计数器组成的时基分频器(多级串行计数)线路.图中晶体振荡器采用振荡频率为
2010-10-19 15:03:29
1511 
C180(CMOS)2-10进制同步加法计数器由同步的四级D型触发器组成.它的管脚外引线排列和功用如图所示,C180 2-10进制
2010-10-19 14:56:14
1889 
T213计数器内部由四级J-K触发器串接成四位异步计数器,它的管脚外引线排列及功用如图所示,将T213计数器的
2010-10-19 13:40:10
1557 
图中所示由SW399组成的标准电池替换器.
2010-10-18 17:17:16
695 
图中所示是J-K触发器组成可逆计数器电路。要求计数器能够在一定条件下,从加法计数改换成减法计数,也可以
2010-09-24 01:03:53
2756 
图中所示是用与非门组成的二进制计数器,实际上它是用与非门组成的维持-阻塞触发器而组成的计数器.图
2010-09-19 00:54:13
2214 
74LSl92构成的计数器电路图如图4所示:左边的1片74LSl92芯片为计数器的个位,右边的1片74LSl92芯片为计数器的十位,个位和十位计数器的四个输出端都接上数码管显示。其中作为个位
2010-08-23 09:35:03
2206 
摘要:介绍用一片GAL16V8实现的模≤2n可编程计数器。它是基于“最大长度移位寄存器式计数器”的原理设计而成的.电路简单可靠.同时介绍一种由它组成的实用电路——由GAL实现
2010-05-23 08:34:31
51 TWH8752/TWH8751/TWH8778是开关集成电路,它的外形结构和引脚功能如图所示。该电路开关电流达1A,并且开关速度快,工作电压6-24V,极限电压值为30V。
2010-05-08 20:39:16
281 TWH8751/TWH8752引脚功能
与TWH8751管脚相同,但是比TWH8751更适合大电流状态下工作。
&nb
2010-05-08 20:29:35
7243 TWH8751组成的锁控防盗报警器电路
如图所示为锁控防盗报警电路。该电路由RS触发器、选通振荡器、报警电路等组成。其中RS触发器由与非
2010-05-08 16:48:05
2276 
手提式D类扩音器原理及电路
手提式D类扩音器电路如图1所示。这是一款用锁相环CD4046和TWH8751大
2010-04-16 14:45:15
4598 
计数器的定义和分类
计数器定义在数字电路中,计数器属于时序电路,它主要由具有记忆功能的触发器构成。计数器不仅仅
2010-03-08 17:37:35
11724 计数器,计数器的工作原理是什么?
在数字系统中使用最多的时序电路是计数器。计数器不仅能用于对时钟脉冲进行计数还可以用于分频、定时,产生
2010-03-08 13:50:14
59468 可编程计数器陈列PCA原理及应用设计P89C51Rx2的可编程计数器陈列是由5个相同的、以计数器为主的模块组成。每个模块除为主的计数器外,还辅之以比较器/沿捕捉器。
2010-01-14 11:02:08
43 环形计数器和扭环形计数器
移位寄存器也可以构成计数器,称为移位型计数器。它有两种结构:环形计数器和扭环形计数器。
2010-01-12 14:07:46
8706 用TWH8751制作直流日光灯及电路
一般直流日光灯采用分立元件组成,而这个电路由TWH8751功率开关加几个外围元件组
2009-12-15 17:03:23
2734 
由MAX165/166组成的单极性模数转换电路
图12为由MAX165/166组成的单极性模数转换电路。由
2009-12-07 22:34:03
883 
由SH803组成的大功率彩灯程控器电路
用SH803制作大功率彩灯程控器
SH803是目前智能彩灯专用集成电路,该集
2009-11-25 15:24:30
2018 
64进制计数器
64进制计数器由两个
2009-09-16 15:54:01
3909 
24进制计数器电路
在百进制基础上,采用反馈归零法即可组成二十四进制计数器。计数范围为0~23,24为过渡状态,当高位计数至2、低位计数至4
2009-09-16 15:50:29
19522 
百进制计数器电路
将两块74LS290进行级联,组成的百进制计数器如图12.8所示。
2009-09-16 15:47:50
5541 
74LS290组成七进制计数器?
解 首先,将74LS290的CP1端与Q0端相接,使
2009-09-16 15:46:35
8926 
本文介绍一种采用专用固态集成电路TWH9221构成的冰箱异味消除器电路.该电路具有耐低温、耐潮湿、静态功耗小、工作效率高等特点.
2009-04-21 16:11:01
30
定时复零三位半计数器电路图
2009-04-11 12:05:32
1015 
555组成的基本振荡器电路
2009-04-08 18:12:40
807 
定时器/计数器的结构和工作原理
定时器/计数器的结构 定时器/计数器的实质是加1计数器(16位),由高8位和低8位两个寄存器组成
2009-03-29 09:08:05
17379 
两片4位二进制数加法计数器74LS161级联成五十进制计数器。
2009-03-28 10:10:23
33045 
可逆计数器电路
2009-02-25 21:53:53
898 
由LM324组成的测温电路
见附图。感温探头采用一只硅三极管3DG6,把它接成二极管形式
2008-12-21 16:03:38
4002 
简易逆变器电路(由时基电路555组成)
2008-10-23 21:31:42
4750 
100进制计数器
异步级联法组成的100进制计数器
定义集成计数器的高低位,1#芯片为低位(相当
2008-07-05 14:25:17
5412 
我们可以采用具有保持功能的同步集成计数器(如74LS160)组成同步计数器,电路如图3-4所示。在160计数器中当S1=S2
2008-07-05 14:17:49
4236 
评论