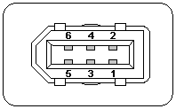
1394接口图片
| 1394接口引脚定义图 |
| 作者:本站 来源:本站整理 发布时间:2007-11-19 16:49:01 发布人:admin |
IEEE 1394-1995:
Pin No. Signal Name Signal Inter Connection
Inter Connection with i-Link
1 VP Cable power 1
2 VG Cable ground 2
3 TPB* Strobe on receive, data on transmit (differential pair) 5 1
4 TPB 6 2
5 TPA* Strobe on receive, data on transmit (differential pair) 3 3
6 TPA 4 4

i-Link: 4-pin type IEEE 1394-1995
Pin No. Signal Name Signal Inter Connection
Inter Connection with 1394-1995
1 TPB* Strobe on receive, data on transmit (differential pair) 3 5
2 TPB 4 6
3 TPA* Strobe on receive, data on transmit (differential pair) 1 3
4 TPA 2 4