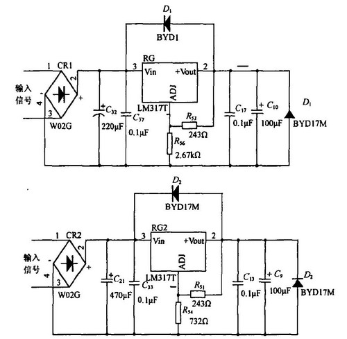
LM317T在焊接控制板中的运用
- lm317(69655)
 
相关推荐
可调电压稳压器LM317T结构图分析
一个PWM信号控制一只LM317T,美国国家半导体公司的LM317T是一种常用的可调电压稳压器,能以最大1.5A电流提供1.25V~37V的输出电压。
2011-11-28 14:09:03
6210
6210
lm317HV引脚图,0-60V LM317HV稳压可调可变电源设计
高压 LM317HV 系列 IC 将超越 LM317 IC 的传统电压限制,并能够控制可能高达 60V 的电源。
2023-07-11 14:39:03
6032
6032
lm317输出电压计算公式,lm317输出电压大小取决于什么
决定LM317输出电压的是电阻R1,R2的比值,假设R2是一个固定电阻。因为输出端的电位高,电流经R1, R2流入接地点。LM317的控制端消耗非常少的电流,可忽略不计。所以, 控制端的电位是I xR2,又因为LM317 控制端, 输出端接脚间的电位差为1.25V
2023-07-11 15:13:56
3255
3255
创建可变电压电源的方法,使用LM317T创建可变电压电源
继续我们关于将 ATX PSU 转换为台式电源的教程,一个非常好的补充是 LM317T 正电压稳压器,我们可以用来创建可变电压电源。
2023-07-17 15:39:59
1124
1124
lm317t制作简单电路,制作0-30V基于LM317的可调稳压电源电路
制作可调稳压电源,选用LM317是非常方便的,但是LM317的最小输出电压为1.25V,无法从0V起调。这里介绍一个简单的电路,让LM317的输出电压可以从0V起调。
2023-07-17 16:09:38
8209
8209
lm317t稳压可调电路图讲解
用LM317T制作可调稳压电源,常因电位器接触不良使输出电压升高而烧毁负载。如果增加一只三极管(如下图所示),在正常情况下,T1的基极电位为0,T1截止,对电路无影响;而当W1接触不良时,T1的基极
2023-07-20 16:23:08
3804
3804
LM317可调三端正电压稳压器的资料分享
描述基于LM317T的可调电源LM317三端可调稳压器LM317器件是一款可调三端正电压稳压器,能够在 1.25 V 至 37 V 的输出电压范围内提供超过 1.5 A 的电流。它只需要两个外部
2022-07-21 06:06:15
LM317可调直流稳压双电源电路资料分享
电路工作原理见下图。本电路最大的优点是采用两块三端可调稳压块LM317、LM337。在维修使用过程中,当开关K拨至位置“1”时,由电源变压器T次级降至17.5V×2的交流电压,经VD1~VD4整流
2021-05-12 07:00:35
LM317可调稳流电源电路资料分享
2.2A。图中采用了两块LM317供电,整个稳流电源电路输出电流可在35A以上。由于两块LM317参数不可能一样,电路中在LM317输出端串接了小阻值电阻R3、R4,用以均分电流。 输出电压调整由RP1
2021-05-12 06:11:09
LM317带负载后,导致其输出电压升压??? 求教
整套电路见附件,当A板插在B板上时,会到导致B板上的LM317输出电压(3.3V)升高。A板,一共焊接了6块,只有两块插上,正常。 B板上用到了两块LM317,其中15V降为12V没有问题;12V再降为3.3V,当部分A板插上,会导致LM317输出电压从3.3V上升到4V多,5V多,甚至8V多。
2018-04-18 16:21:34
LM317的数控直流电源设计与调压问题
LM317L严重发热、烫手LM317电源制作LM317的奇怪现象如何用LM317做一个输出1.25v~37v的数控直流电源库文件中没有LM317怎么办LM317稳压电路中的一些问题详解用LM317制作实用小型
2018-08-29 17:26:23
LM317T
  LM317T - 1.5 A Adjustable Output, Positive Voltage Regulator - ON Semiconductor
2022-11-04 17:22:44
LM317T
  LM317T - 3-Terminal Positive Adjustable Regulator - Tiger Electronic Co.,Ltd
2022-11-04 17:22:44
LM317T
  LM317T - Adjustable Voltage Regulator - Inchange Semiconductor Company Limited
2022-11-04 17:22:44
LM317T安全应用电路/采用LM317T的三端稳压器电源电路设计
一只三极管,在正常情况下,T1的基极电位为0,T1截止,对电路无影响;而当W1接触不良时,T1的基极电位上升,当升至0.7V时,T1导通,将LM317T的调整端电压降低,输出电压也降低,从而对负载
2009-08-20 19:14:43
控制板中的单片机是什么?
  我们都知道家用电器的很多功能都需要使用控制板才能实现的,如通过电话远程遥控家中电器,使其电源接通或者断开或者发出家电红外开关指令,所以说控制板的出现给我们的生活带来了许多便捷,而且现在很多控制板
2016-07-27 14:21:55
控制板包装标志应包括哪些?
、型号规格、数量;    3、收货单位名称;    4、制造厂全称或商标;    5、在包装箱上适当位置标明“防潮”等字样,标志应符合 GB/T 191-2000。    6、控制板上至少应有专用号、型号规格、制造厂名称缩写等标志。    7、控制板上元器件应有相关安全认证标志。  
2016-07-20 16:09:27
控制板外观的检验规范是什么呢?
  众所周知,控制板也是一种电路板,但相比普通的电路板来说,控制板具有智能、自动化的优点,而且只有起到控制的作用才可称为控制板;正是如此,在制作过程中不但对控制板的质量很严格,对外观也有很多要求
2016-07-26 14:44:28
控制板掉电
向各位大神求助:本人从事设备维修工作,对单片机不太懂,平时维修设备,发现哪里出问题就更换哪里,现在碰到一个问题,由于设备厂家限制了控制板的出售数量,现在维修很难买到控制板,只能利用旧板子拼拼凑凑
2020-10-22 13:06:28
控制板的电源突变适应能力试验
  控制板也是一种电路板,其运用的范围虽不如电路板来的宽泛,但却比普通的电路板来的智能、自动。但它在生产时需要完成各种实验才合格,下面我们来说说它的电源突变适应能力试验吧:    将控制板与所属产品
2016-07-28 15:14:21
[原创]关于LM317T恒流电路
;lt;p>如上图示的LM317T的DATASHEET上的恒流电路  ,我按照上图搭出来的线路板不是恒流。R1两端的电压不是1.25V,奇怪了,哪位能指点一下
2010-10-26 18:02:48
使用LM317T的可变电压电源
。LM317T的输出电压由两个反馈电阻R1和R2之比确定,这两个电阻在输出端子上形成一个分压器网络,如下所示。LM317T可变电压稳压器反馈电阻R1两端的电压是恒定的1.25V参考电压,在“输出
2020-09-22 09:35:39
基于LM317可调直流稳压电源的制作
稳压电源的电路结构、组装步骤以及调试方法。  引言  随着集成电路工艺的迅速发展,稳压电路也迅速实现了集成化,成为模拟集成电路的重要组成部分。目前在小功率稳压电源中应用最普通的是LM317可调直流
2018-12-03 11:07:47
小型稳压电源制作方法相关资料分享
电容器向电路供电。这个过程叫作滤波。图中的C1便是用来完成这个工作的。  经过C1滤波后的比较稳定的直流电送到三端稳压集成电路LM317T的Vin端(3脚)。LM317T是一种这样的器件:由Vin端给
2021-05-25 07:26:10
用电脑12V电源制作的125V9V可调稳压电源相关资料推荐
:正5V电路需要的正12V电压由黄色线引出。然后通过可调稳压集成电路LM317T输出连续可调的1.25V~9V稳定电压。图中二极管D1用来防止极性接反,二极管D2的用途是在输出端连接有电容性或电感
2021-05-26 06:08:59
电源控制板设计中的问题分享!
一,问题现象功能:电源控制板可以单独控制5V/12V/24V三路电压的输出,并测量其电流和电压.电源控制板所选CPU为STM32F103C8T6@72Mhz.电源控制板所选继电器为
2019-08-12 01:02:05
直流分档LM317稳压电源资料下载
220V交流电压经降压、整流为21V的脉冲直流电压,用470μF的电容C1滤波,C2用来旁路高频。  芯片LM317T(IC1)是串联三端式可调正电压稳压器,能在1.2V-37V范围内提供不低于
2021-05-11 08:00:02
能减少LM317纹波的电源电路资料推荐
,一路是经R1流向R2的电流IR1,其大小为UR1/R1。因UR1为恒定电压1.25V,Rl是一个固定电阻,所以IR1是一个恒定的电流。另一路是317调整端流出的电流ID,由于型号不同(例如LM317T
2021-05-12 07:05:35
详解用LM317制作实用小型稳压电源过程
详解用LM317制作实用小型稳压电源过程元件选择: 大部分元件的选择都有弹性。IC选用LM317T或与其功能相同的其它型号(如KA317等,可向售货员咨询)。变压器可以选择一般常见的9-12V的小型
2011-12-28 11:10:50
请问texas的lm317和lm117的区别是什么?
1. 我正在做产品设计,在电路中我想用一块lm117,我在datesheet里面看到lm117是有sot-223封装的,我需要量比较少,不知道现在texas还有在生产销售lm117 sot-223
2019-04-28 12:56:33
贴片机控制板简介
  控制板是贴片机的大脑,它将各种信息收集起来,然后根据收集的信息发出相应的指令给计算机,使贴片机按要求进行贴装。  一般贴片机的控制板都集中装在一个控制箱内,主要有:①电源控制板;②CPU控制板
2018-09-07 15:56:52
LM117/LM317A pdf,LM117/LM317A
LM117/LM317A/LM3173-Terminal Adjustable RegulatorGeneral DescriptionThe LM117 series of adjustable
2008-09-06 00:50:29
20
20lm317t/lm117t pdf datasheet (3
The lm317t/lm117t series of adjustable 3-terminal positive voltageregulators is capable
2009-01-19 17:26:37
37
37lm317t参数 (3-Terminal Adjustabl
lm317t参数:The LM117 series of adjustable 3-terminal positive voltageregulators is capable
2010-02-21 15:00:45
100
100LM317T应用电路一例电路图
LM317T应用电路一例 
用LM317T制作可调稳压电源,常因电位器接触不良使输出电压升高而烧毁负载。如果增加一只三极管(如下图所示),在正常情况下,T1的基极电位为0,
2009-07-29 15:07:35
4277
4277
LM317T应用电路一例电路图
LM317T应用电路一例 
用LM317T制作可调稳压电源,常因电位器接触不良使输出电压升高而烧毁负载。如果增加一只三极管(如下图所示),在正常情况下,T1的基极电位为0,
2009-07-29 15:07:39
1985
1985
LM317中文使用手册及应用
LM317中文使用手册及应用
LM117/LM317 的输出电压范围是1.2V至37V,负载电流最大为1.5A。它的使用非常简单,仅需两个外接电阻来设置输出电压。此外它
2009-12-29 12:42:11
9774
9774
用LM317T设计的三端稳压器电源电路
用LM317T设计的三端稳压器电源电路
介绍了三端稳压器LM317T芯片的工作过程及其输出电压的计算公式。基于电路板芯片供电电源的考虑,设计了一种
2010-02-21 15:02:14
9289
9289
LM317使用经验
 LM317作为输出电压可变的集成三端稳压块,是一种使用方便、应用广泛的集成稳压块。317系列稳压块的型号很多:例如LM317HVH、W317L 等。电子爱好者经常用317稳压块制作输出电压可变的稳
2011-05-27 10:50:19
2776
2776
基于LM317T的旧式电源改进电路
该电路中的LM317T是可调节3端正电压稳压器。在其输出电压范围1.2~37V时可以提供1.5A的电流。使用内部限流,热关断和安全工作区补偿基本能防止烧断保险丝。
2011-08-02 09:33:56
3431
3431lm317引脚图和资料
LM117/LM317是美国国家半导体公司的三端可调正稳压器集成电路。我国和世界各大集成电路生产商均有同类产品可供选用,是使用极为广泛的一类串联集成稳压器。LM117/LM317 的输出电压范围是1.2V 至37V,负载电流最大为1.5A。
2017-10-24 10:19:51
39732
39732
lm317工作原理及参数
LM317作为输出电压可变的集成三端稳压块,是一种使用方便、应用广泛的集成稳压块。317系列稳压块的型号很多:例如LM317HVH、W317L 等。电子爱好者经常用317稳压块制作输出电压可变的稳压电源
2017-10-24 10:57:31
29693
29693
lm317扩流工作原理及方法分析
LM317作为输出电压可变的集成三端稳压块,是一种使用方便、应用广泛的集成稳压块。317系列稳压块的型号很多:例如LM317HVH、W317L等。电子爱好者经常用317稳压块制作输出电压可变的稳压电源。当负载电流大于三端可调集成稳压器标称电流值时,可用扩流的办法来解决。
2017-11-17 12:51:23
22612
22612
lm317中文资料详细(lm317引脚图及功能_工作原理及应用电路)
本文开始介绍了lm317特性与LM317电气参数,其次介绍了lm317引脚图及功能、LM317封装形式和工作原理,最后介绍九款lm317的典型应用电路。
2018-03-29 15:19:29
354932
354932
lm317可以用什么型号来代替
本文开始介绍了LM317的特性和lm317电压范围,其次阐述了lm317主要参数,最后介绍了LM317电路图与工作原理以及阐述了可以代替lm317的几个型号。
2018-03-29 15:51:26
33716
33716lm317如何用作稳流器
本文开始介绍了LM317的工作原理,其次介绍了LM317电源电路原理与介绍了LM317可调稳压直流电源电路,最后介绍了lm317用作稳流器的方法及原理。
2018-03-29 16:41:19
43526
43526
LM317稳压电源,LM317 POWER SUPPLY
压供实验室使用。
    220V交流电压经降压、整流为21V的脉冲直流电压,用470μF的电容C1滤波,C2用来旁路高频。
    芯片LM317T(IC1)是串联三端式可调正电压稳压器,能在
2018-09-20 20:36:05
2314
2314LM317T 可调式三端 1.5 A 正压稳压器
电子发烧友网为你提供()LM317T相关产品参数、数据手册,更有LM317T的引脚图、接线图、封装手册、中文资料、英文资料,LM317T真值表,LM317T管脚等资料,希望可以帮助到广大的电子工程师们。
2019-04-18 20:21:09
控制板是什么
控制板也是一种,其运用的范围虽不如电路板来的宽泛,但却比普通的电路板来的智能、自动化。简单的说,能起到控制作用的电路板,才可称为控制板。大到厂家的自动化生产设备,其中包括工业控制板、仪表仪器控制板,高压电机控制板。
2019-05-08 15:14:27
7841
7841控制板是什么_控制板的作用是什么
控制板也是一种电路板,其运用的范围虽不如电路板来的宽泛,但却比普通的电路板来的智能、自动化。简单的说,能起到控制作用的电路板,才可称为控制板。大到厂家的自动化生产设备,小到孩童用的玩具遥控汽车,内部都用到了控制板。
2019-05-20 17:09:26
14482
14482LM317 5V输出电路学习
LM317 可调整的三端稳压器LM317 输出5V电路。 1:双十一期间,买了点元器件玩玩。1.7的价格买了3个LM317,如下图。真是够贵的,ST公司生产的。下载了文档,简单看下。翻译:输出电压
2021-11-07 17:51:00
34
34基于LM317T的可调电源设计
方案介绍LM317 器件是一款可调三端正电压稳压器,能够在 1.25V 至 37V 的输出电压范围内提供超过 1.5A 的电流。它只需要两个外部电阻器来设置输出电压。该器件具有 0.01% 的典型
2022-12-27 15:47:47
0
0基于LM317T的闪光灯电路
这是一个非常有用的灯闪光灯电路,使用著名的可调稳压器IC LM317T。LM317 可以提供高达 1A 的电流,因此此闪光灯可以使用高达 12W 的灯。这样的电路在汽车中得到了巨大的应用。闪烁的频率取决于电阻R1至R3和电容C2至C4的值。具有给定的值;闪烁速率约为每秒 5 次闪烁。
2023-04-02 14:58:36
888
888
LM317可变电源电路图讲解
这款LM317可变电源可以提供1.2V至30V的电压,电流为3安培,正如该系列基于LM317T稳压器的标题一样,LM317T稳压器在散热器上提供约1.5安培的电流,因此通过安装并联两个或者其中三个将获得能够提供 3 安培的电压源。显然这也取决于所使用的变压器。
2023-08-11 17:09:06
1197
1197
lm317电源电路概述 lm317数字电源设计实例
lm317电源电路概述 lm317数字电源设计实例 lm317可调电源设计要求解读 LM317是一个常用的线性稳压电路,它可以作为电子电路中的常见电源电压调整器。该器件采用三端稳压控制方式,可以根据
2023-10-16 16:35:52
1068
1068怎样用万用表区分LM317T的三个脚的功能?
怎样用万用表区分LM317T的三个脚的功能? 万用表是一种多功能电测仪器,可以用来测试电阻、电流、电压和其他电路参数。在处理电子电路时,常常需要使用万用表来区分各种元器件的功能,特别是区分具有多个
2023-10-26 11:27:00
1412
1412LM317引脚怎么识别?LM317引脚的识别方法
LM317引脚怎么识别?LM317引脚的识别方法 LM317是一种广泛使用的线性稳压器,用于电子电路中的电源稳定。它可以在扩大范围内输出稳定的电压,被广泛用于单电源电路和双电源电路
2023-10-26 11:27:03
1781
1781
                        电子发烧友App
                    
                
                
          
        
        

















           
            
            
                
            
评论