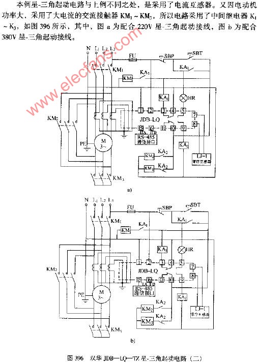
双华JDB-LQ-TZ星.三角起动电路图(二)

电子发烧友App
硬声App
完善资料让更多小伙伴认识你,还能领取20积分哦,立即完善>
电子发烧友网>电子威廉希尔官方网站 应用>电子威廉希尔官方网站 >电路图>电动机控制电路图>双华JDB-LQ-TZ星.三角起动电路图(二)
相关推荐
777
3731
37514
20
27
7
18
7
33
26353
9481
230162
63482
53670
101288
20904
评论