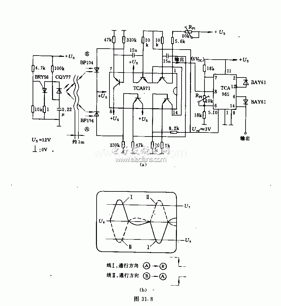
指明通行方向的光栅电路
- 光栅(26945)
相关推荐
回路的绕行方向和电流方向
回路的绕行方向和电流方向 回路的绕行方向和电流方向是电路理论中一个非常重要的概念。在电路中,电流的流动方向与回路的绕行方向有着密切的关系。电流的流动和回路的绕行方向都是电路分析和设计的必要条件。在
2023-09-17 09:57:08
681
681光栅单色仪设计
单色仪是一种光谱仪,它一次将单个波长或波段成像到出射狭缝上;通过入射和/或出射光学器件(通常是狭缝)相对于光栅的相对运动来扫描光谱。 平面光栅是指表面平坦的光栅。平面光栅通常用于准直入射光,该入射光
2023-08-29 06:26:30
78
78
刻划光栅和全息光栅的区别
由于刻划光栅和全息光栅的制造工艺之间的区别,每种类型的光栅相对于另一种都有优点和缺点,本文将对其进行简单描述。 光栅效率的差异 刻划光栅和全息光栅的效率曲线通常相差很大,尽管这是凹槽轮廓差异
2023-08-10 06:45:17
257
257
什么是刻线衍射光栅 刻线衍射光栅的作用
刻线衍射光栅生产中最重要的部件是被称为刻线设备,在该设备上对母光栅进行刻线。这些设备中的每一个都产生具有非常低的罗兰重影、高分辨率和高效率均匀性的光栅。
2023-07-20 11:49:40
335
335光栅的结构与工作原理
有关光栅的结构与工作原理,光栅是利用光的透射、衍射现象制成的光电检测元件,由标尺光栅和光栅读数头两部分组成,介绍了光栅尺的构造和种类,光栅读数头的构成图等。
2023-06-29 16:41:11
1864
1864
光栅测长机品牌
测量方式。仪器通过高精密研磨导轨保证测量头座移动的高稳定性及超高直线度,采用进口高精度光栅测量系统记录长度方向坐标,由计算机将光栅数据与测力装置、温度传感器的反馈数
2023-06-20 10:21:49
衍射光栅的核心应用(四)
衍射光栅是一种高分辨率的光学色散元件。随着衍射光栅制造威廉希尔官方网站
的不断发展,各类型的光栅相继而出,光栅的用途也日益广泛,如今衍射光栅不仅可用于光谱学,还能广泛用于惯性约束聚变、激光加工、天文、计量、光通讯、AR显示等众多领域。
2023-05-29 07:07:44
154
154衍射光栅的核心应用(三)
衍射光栅是一种高分辨率的光学色散元件。随着衍射光栅制造威廉希尔官方网站
的不断发展,各类型的光栅相继而出,光栅的用途也日益广泛,如今衍射光栅不仅可用于光谱学,还能广泛用于惯性约束聚变、激光加工、天文、计量、光通讯、AR显示等众多领域。
2023-05-29 07:06:34
129
129
衍射光栅的核心应用(一)
衍射光栅是一种高分辨率的光学色散元件。随着衍射光栅制造威廉希尔官方网站
的不断发展,各类型的光栅相继而出,光栅的用途也日益广泛,如今衍射光栅不仅可用于光谱学,还能广泛用于惯性约束聚变、激光加工、天文、计量、光通讯、AR显示等众多领域。
2023-05-26 07:12:17
359
359衍射光栅的核心应用(二)
衍射光栅是一种高分辨率的光学色散元件。随着衍射光栅制造威廉希尔官方网站
的不断发展,各类型的光栅相继而出,光栅的用途也日益广泛,如今衍射光栅不仅可用于光谱学,还能广泛用于惯性约束聚变、激光加工、天文、计量、光通讯、AR显示等众多领域。
2023-05-26 07:11:19
234
234
浅谈光栅尺传感器的用途及工作原理
在位移测量系统将得到更广泛应用,并逐步向智能化方向转化。该测量系统采用光栅移动产生的莫尔条纹与电子电路相结合来完成对位移量的自动测量,它具有判别光栅移动方向、预置初值、实现自动定位控制及过限报警、自检和掉电
2023-05-12 15:43:11
639
639红外光栅介绍
进入机器的危险区域,以避免可能的人身伤害或损害。也可用于实现物体的检测与计数。红外光栅通常由发射器、接收器和信号处理电路组成,可以实现高精度、高速度和长距离的物体检测。
2023-04-14 15:25:01
657
657
衍射光栅对正入射宽带平面波的响应
此示例描述了衍射光栅对正入射宽带平面波的响应。Lumerical提供了一组光栅脚本以及“光栅阶数传输”分析组,可以轻松计算常见结果,例如不同波长的光栅阶数、衍射角和光栅效率,光栅分析组还可用于获得特定光栅阶数的功率分数。
2022-11-03 17:44:11
748
748光栅尺工作原理
常见光栅的工作原理都是根据物理上莫尔条纹的形成原理进行工作的。当使指示光栅上的线纹与标尺光栅上的线纹成一角度来放置两光栅尺时,必然会造成两光栅尺上的线纹互相交义。
2019-12-24 09:30:23
20966
20966
光栅尺的结构原理
光栅检测装置的关键部分是光栅读数头,它由光源、会聚透镜、指示光栅、光电元件及调整机构等组成。光栅读数头结构形式很多,根据读数头结构特点和使用场合分为直接接收式读数头(或称硅光电池读数头、镜像式读数头、分光镜式读数头、金属光栅反射式读数头)。
2019-12-24 09:25:46
11575
11575
光栅传感器的种类与特点
光纤光栅从结构上可分为周期性结构和非周期性结构,从功能上还可分为滤波型光栅和色散补偿型光栅,色散补偿型光栅是非周期光栅,又称为啁啾光栅(Chirp光栅)。
2019-12-13 09:46:59
3233
3233
通过Avalon总线与NiosII实现光栅电子细分系统的集成和模块化设计
莫尔条纹的电子细分是提高光栅位移传感器分辨率的主要途径之一。莫尔条纹是光栅位移传感器工作的基础。莫尔条纹间距近似为光栅栅距的1/θ倍(θ为主副光栅之间的夹角),并且方向近似与栅线方向垂直。当其中任一
2019-07-29 08:05:00
1311
1311
光栅位移传感器的硬件电路设计
光栅位移传感器包括以下几部分:光栅;光栅光学组成。光栅光学系统的作用是形成莫尔条纹;光电接受系统。光电接受系统是由光敏元件组成,他将莫尔条纹的光学信号转换成电信号,本系统采用的光敏元件是4个硅光电池。
2019-03-28 11:52:19
1612
1612
指明市场风向标,国内首个汽车后市场产业互联网研究报告出炉
指明市场风向标,国内首个汽车后市场产业互联网研究报告出炉 在3月26日举办的中国汽配流通行业产业互联网高峰论坛上,奚仲云联合全国工商联汽车摩托车配件用品商会发布了《中国汽配流通行业产业互联网发展
2019-03-28 09:11:02
227
227
为什么要光栅化?怎么实现光栅化方法?
光栅化是在计算机上生成图像的重要步骤,然而无论是opengl还是directx还是其他的图形接口都封装了光栅化方法。我自己做了个光栅器,接下来就说一下怎样实现光栅化的。
2018-04-27 11:19:00
7880
7880
光栅尺该如何维护?光栅尺维护方法介绍
光栅尺是由标尺光栅和光栅读数头两部分组成。标尺光栅一般固定在机床固定部件上,光栅读数头装在机床活动部件上,指示光栅装在光栅读数头中。
2018-02-03 10:48:21
6121
6121
浅谈光栅数显系统的工作原理及安装注意事项
明暗相间的莫尔条纹与光栅线纹几乎成垂直方向排列。当标尺光栅相对主光栅沿垂直刻线移动时,莫尔条纹跟随其移动。莫尔条纹的光强度近似呈正(余)弦曲线变化,经光电元件所感应的光电流变化规律近似为正(余)弦曲线。经放大器放大、整形电路整形,得到两路相差为90°的正弦波或方波,送入光栅数显表计数显示。
2018-02-02 16:48:24
5282
5282
光栅尺是什么_光栅尺的工作原理
光栅尺,也称为光栅尺位移传感器或光栅尺传感器,是通过利用光栅的光学原理工作的测量反馈装置。光栅尺经常应用于数控机床的闭环伺服系统中,可用作直线位移或者角位移的检测。
2017-12-12 18:51:52
42102
42102
光纤光栅传感器原理内容详解
光纤光栅的种类很多,主要分两大类:一是Bragg光栅(也称为反射或短周期光栅);二是透射光栅(也称为长周期光栅)。光纤光栅从结构上可分为周期性结构和非周期性结构,从功能上还可分为滤波型光栅和色散补偿型光栅,色散补偿型光栅是非周期光栅,又称为啁啾光栅(chirp光栅)。
2017-09-28 15:38:56
33566
33566基于FPGA的光栅传感器信号处理电路研究
的不断发展,光栅信号处理电路研究也就向着数字化的方向发展,采用可编程逻辑阵列电路,通过语言编程来实现预期功能。目前FPGA进行电路设计已经成为一种最有效、性能最好的设计方法。近几年,对于光栅信号的处理采用CPLD/FPGA威廉希尔官方网站
已成为一
2017-08-30 18:10:14
5
5圆光栅测角系统信号细分电路设计
为提高圆光栅传感器对角度进行数字测量的精度和分辨力,使其更加广泛方便的应用于航天、机器人控制等领域中,设计了圆光栅角度测量系统及其测角信号移相电阻链细分电路,其将
2012-08-29 15:18:08
50
50基于啁啾光栅的光纤光栅传感解调方法
利用啁啾光纤光栅结合长周期光纤光栅边沿线性滤波威廉希尔官方网站
,提出了一种新颖的光纤光栅传感解调方法,并实现了在传感波长变化5 nm 范围内的波长解调1 采用了全光纤结构,无需机械部件调谐
2011-09-14 15:08:32
42
42光纤光栅,光纤光栅是什么意思
光纤光栅,光纤光栅是什么意思
Fiber Bragg Grating(FBG)是衍射光栅概念的发展,其衍射是由光纤内部折射率的变化实现的。
FBG好像一个窄带的
2010-04-02 16:35:36
3112
3112波导光栅,波导光栅原理什么?
波导光栅,波导光栅原理什么?
数组波导光栅属于平面光路威廉希尔官方网站
(Planar Light Circuit; PLC)的一种,因此在介绍数组波导光栅之前,需先谈谈平面波导技
2010-04-02 16:13:50
5412
5412自行车回安全光栅电路-Bicycle back Safety
自行车回安全光栅电路-Bicycle back Safety Light
Flashing 13 LED unit, 3V supply
Also suitable for jogger/walkers
2010-01-15 08:54:45
3508
3508光栅特性的研究
光栅特性的研究:衍射光栅是利用光的衍射原理使光波发生色散的光学元件.它由大量相互平行、等宽、等距的狭缝(或刻痕)组成.以衍射光栅为色散元件组成摄谱仪或单色仪是物
2009-11-24 18:13:55
19
19光栅衍射测量实验
光栅衍射测量实验:1. 理解光栅衍射的原理,研究衍射光栅的特性;2. 掌握用衍射光栅精确测量波长的原理和方法;3. 进一步熟悉分光计的工作原理和分光计的调节、使用方法
2009-11-24 18:10:17
27
27衍射光栅实验
衍射光栅实验:1。观察光栅衍射光谱,理解光栅衍射基本规律2.进一步熟悉分光计的调整和应用;3.学会用光栅测定光波波长(或光栅常数)的方法。光栅--------------------是一
2009-11-24 18:09:19
44
44测定衍射光栅的光栅常数
测定衍射光栅的光栅常数:1、了解光栅衍射的基本原理。2、学会光栅常数的测量方法。----光具座法光栅是一种常用的光学色散元件,具有空间周期性,它好象是一块由大
2009-11-03 15:31:09
30
30光栅数字传感器的工作原理
光栅数字传感器的工作原理
光栅数字传感器,通常由光源5(聚光镜4)、计量光栅、光电器件3及测量电路等部分组成,如图12.1.2所示。计量光栅由标尺光栅1
2009-10-29 22:42:30
3085
3085
光栅的类型和结构
光栅的类型和结构
光栅是由很多等节距的透光缝隙和不透光的刻线均匀相间排列构成的光电器件。按照工作原理,光栅可分为物理光栅和计量光栅,物理光栅基于
2009-10-29 22:41:35
4342
4342光栅数字传感器
光栅数字传感器
光栅的类型和结构
光栅是由很多等节距的透光缝隙和不透光的刻线均匀相间排列构成的光电器件。按照工作原理,光栅可分为物理光栅和计
2009-10-29 22:41:11
1665
1665
安全通行卡的工作原理是什么?
安全通行卡的工作原理是什么?
在一些限制进入的区域和建筑中,经常要使用安全通行卡才能进入。安全通行卡如果用于一般访问,就意味着通行卡不提供有关使用者的数
2009-07-29 08:24:00
1234
1234光纤光栅波长移位的检测
光纤光栅波长移位的检测是现在光纤光栅传感的关键问题。本文介绍了几种测量光纤光栅波长的方案及其工作原理,对各自优缺点做了介绍。关键词:光纤光栅;光纤光栅传感器
2009-07-17 10:21:31
13
13长周期光纤光栅扭曲传感器
发现用高频CO2 激光写入的长周期光纤光栅的谐振波长会随光栅扭曲而线性变化。当顺时针扭曲时,谐振波长向长波方向漂移;逆时针扭曲时,谐振波长向短波方向漂移。该新型扭曲传感
2009-07-10 16:05:55
12
12光栅的工作原理
光栅的工作原理
常见光栅的工作原理都是根据物理上莫尔条纹的形成原理进行工作的。图4-9是其工作原理图。当使指示光栅上的线纹与标尺光栅上的线纹
2009-05-06 23:23:59
20208
20208
电子发烧友App
























评论