
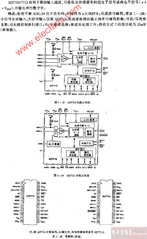
AD7710功能方块图
                        
                        电子发烧友App
                    
                
                        
                        硬声App
                    
                完善资料让更多小伙伴认识你,还能领取20积分哦,立即完善>
电子发烧友网>电子威廉希尔官方网站 应用>电子威廉希尔官方网站 >电路图>压敏传感器电路>AD7710功能方块图
相关推荐
15
15
10
11
55
69
15496
88
24
191
评论