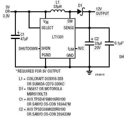
LT1301应用电路
- LT(30486)
 
相关推荐
lt1301 pdf,lt1301 datasheet
The LT1301 is a micropower step-up DC/DC converter thatutilizes Burst Mode™ operation.
2008-09-08 13:44:39
38
38LT4276AIUFD 25.5W类型2 PoE+电源的典型应用电路
LT4276AIUFD 25.5W(类型2)PoE +电源的典型应用电路,具有5V,4.7A输出的反激模式。 LT4276是一种引脚兼容的IEEE 802.3和LTPoE ++供电设备(PD)控制器系列。它包括一个隔离式开关稳压控制器,能够在具有辅助电源支持的正向和反向拓扑中同步工作
2019-04-10 07:00:38
基于lt1301和lt1300的微功率DC/DC转换器应用
Introduction The new LT1300 and LT1301 micropower DC/DC converters provide improvements in both
2017-05-02 15:24:44
13
13LT3070应用电路
LT3070应用电路
The LT3070 is a low voltage, UltraFast transient response linear regulator. The device supplies up 
2009-07-31 08:11:44
1047
1047
LT3517/LT3517H应用电路
LT3517/LT3517H应用电路
LT3517是一个具有内部 1.5A、45V 开关的电流模式 DC/DC 转换器,专为驱动 LED而设计。LT3517 起一个
2010-04-12 16:50:57
813
813
串行总线收发器ISP1301应用电路设计
ISP1301是通用串行总线收发器,完全兼容通用串行总线规范Rev.2.0和OTG补充规范Rev.1.0a。ISP1301可在全速(12Mbit/s)和低速(1.5Mbit/s)速率下收发串行数据。
2015-01-13 11:15:51
2219
2219
采用SX1301蓝牙音箱硬件电路设计
采用DC-DC电源升压芯片,3V转5V/1A专用电源升压IC 升压模块,小封装升压IC 大电流3.7V升5V 1A电流SX1301,1A 升压IC,SOT23-6高效率大电流升压SX1301,蓝牙
2014-12-02 14:39:59
6508
6508
LT3050应用电路(12V输入,输出5V,100ma)
LT3050应用电路(12V输入,输出5V,100ma)
Typical Application
 
2009-09-20 07:35:54
1046
1046
as1301 pdf datasheet
The AS1301 is a 50mA inductorless boost converter using a double H-bridge charge-pump topology
2008-07-29 13:47:17
22
22LT1173组成的升压电路
LT1173组成的升压电路
这个LT1173的应用电路,是应用于APD接收电路中的二极管反向偏置电压产生电路。该电路采用了DCDC专用电路LT1173,
2009-09-23 17:21:33
1584
1584
NUP1301 ESD保护低电容轨夹
电子发烧友网为你提供ON Semiconductor(ti)NUP1301相关产品参数、数据手册,更有NUP1301的引脚图、接线图、封装手册、中文资料、英文资料,NUP1301真值表,NUP1301管脚等资料,希望可以帮助到广大的电子工程师们。
2019-08-05 05:02:21

LT3972应用电路(输入6-33-60V,输出5V,3.5
LT3972应用电路(输入6-33-60V,输出5V,3.5A)
Typical Application
 
 
2009-09-20 07:58:26
1063
1063
MAX1301BEUP+ 数据采集 - 模数转换器(ADC)
电子发烧友网为你提供Maxim(Maxim)MAX1301BEUP+相关产品参数、数据手册,更有MAX1301BEUP+的引脚图、接线图、封装手册、中文资料、英文资料,MAX1301BEUP+真值表,MAX1301BEUP+管脚等资料,希望可以帮助到广大的电子工程师们。
2023-01-05 19:13:56

MAX1301BEUP+T 数据采集 - 模数转换器(ADC)
电子发烧友网为你提供Maxim(Maxim)MAX1301BEUP+T相关产品参数、数据手册,更有MAX1301BEUP+T的引脚图、接线图、封装手册、中文资料、英文资料,MAX1301BEUP+T真值表,MAX1301BEUP+T管脚等资料,希望可以帮助到广大的电子工程师们。
2023-01-10 18:51:57

                        电子发烧友App
                    
                
                
                    
                
                


















































           
            
            
                
            
评论