光电耦合器是一种把红外光发射器件和红外光接受器件以及信号处理电路等封装在同一管座内的器件。当输入电信号加到输入端发光器件LED上,LED发光,光接受器件接受光信号并转换成电信号,然后将电信号直接输出,或者将电信号放大处理成标准数字电平输出,这样就实现了“电-光-电”的转换及传输,光是传输的媒介,因而输入端与输出端在电气上是绝缘的,也称为电隔离。
光电耦合器,是近几年发展起来的一种半导体光电器件,由于它具有体积小、寿命长、抗干扰能力强、工作温度宽及无触点输入与输出在电气上完全隔离等特点,被广泛地应用在电子威廉希尔官方网站 领域及工业自动控制领域中,它可以代替继电器、变压器、斩波器等,而用于隔离电路、开关电路、数模转换、逻辑电路、过流保护、长线传输、高压控制及电平匹配等。
为使读者了解与应用光电耦合器,今介绍几种光电耦合器件及应用电路.
1.器件选择
(1)三极管输出型光电耦合器
三极管输出型光电耦合器电路如图46—1中(a)所示,它是由两部分组成的。其中,1、2端为输入端,通常由发光器件构成;4、5、6端接一只光敏三极管构成输出端,当接收到发射端发出的红外光后,在三极管集电极中便有电流输出。
	
	图46-1
三极管输出型光电耦合器的特点,是具有很高的输入输出绝缘性能,频率响应可达300kHz,开关时间数微秒。
可控硅输出型光耦合器的电路如图46?中(b)所示。该器件为六脚双列式封装。当1、2端加入输入信号后,发射管发出的红外光被接在4、5、6脚的光敏可控硅接收,使其导通。它可应用在低电压电子电路控制高压交流回路的开启。
(3)光耦合的可控硅开关驱动器
图46—2中(a)为光敏双向开关器件;图46?中(b)为过零控制电路及光敏双向开关器件组合体。它们的工作原理是:利用输入端红外光控制输出端的光敏双向开关导通,进而触发外接双向可控硅导通,达到控制负载接入交流220V回路的目的。图中(a)为非过零控制,图中(b)为过零控制。本驱动器有非常好的输入与输出绝缘性,可构成固态继电器的控制电路,其输出的控制功率由可控允许功率决定。
	
	图46-2
(4)达林顿管输出的光检测器
达林顿管输出的光检测器如图46?中(a)所示。它是由两只管子组成复合管,具有很高的电流放大能力,形成下一级或负载的驱动电流,有较强的光检测灵敏度。
(5)数字电路光耦合器
数字电路光耦合器电路如图46?中(b)所示。光耦合器输出为施密特触发电路形式,其特点是响应速度快、数字逻辑可靠,应用于计算机接口、数控电源及电动机控制中。
(6)双向开关触发器输出的光检测器
图46—3中的(c)为双向开关触发器输出的光检测器电路。该图为三端器件,内部是光敏双向开关器件,收到红外光线后,双向开关器件导通,触发外接可控硅导通,使负载接入220V回路中。
	
	图46-3
2.应用电路
(1)开关电路
对于开关电路,往往要求控制电路和开关电路之间要有很好的电隔离,这对于一般的电子开关来说是很难做到的,但采用光电耦合器就很容易实现了。图46?中(a)所示电路就是用光电耦合器组成的简单开关电路。
在图中,当无脉冲信号输入时,三极管BG处于截止状态,发光二极管无电流流过不发光,则a、b两端电阻非常大,相当于开关“断开”。当输入端加有脉冲信号时,BG导通,发光二极管发光,则a、b两端电阻变得很小,相当于开关“接通”。故称无信号时开关不通,为常开状态。
图46—4中(b)所示电路则为“带闭”状态,因为无信号输入时,虽BG截止,但发光二极管有电流通过而发光,使a、b
	
	图46-4
两端处于导通状态,相当于开关“接通”。当有信号输入时,BG导通,由于BG的集电结压降在0.3V以下,远小于发光二极管的正向导通电压,所以发光二极管无电流流过不发光,则a、b两端电阻极大,相当于开关“断开”,故称“常闭”式。
可见,开关a、b端在电路中不受电位高低的限制,但在使用中应满足a端电位为正,b端为负,并使U&ab>3V为好,同时还应注意Uab应小于光电三极管的BVceo。
依据图46—4的原理,光电耦合器可以组成如图46—5中(a)、(b)等多种形式。
	
	图46-5
图中(a)为单刀双掷开关电路,其中外接二极管D的作用,是保证输入正脉冲信号时“od”组接通,“ob”组关断。图中(b)为双刀双掷开关电路,无输入信号时,BG截止,“ob”与“od”组断开,“oa”与“oc”组接通;BG导通(即有信号输入时),“ob”与“od”组接通,而“oa”与“oc”组断开。它们适于自动控制和遥控设备中使用。
(2)光耦合的可控硅开关电路
图46—6中(a)所示电路为光耦合器构成的可控硅开关电路。可控硅SCR的触发电压取自电阻R,其大小由通过光电三极管的电流决定,直接由输入电压控制。该电路简单,控制端与输出端有可靠的电隔离。
	
	图46-6
图中(b)所示电路,为控制负载为纯电阻(如白炽灯泡)的开关电路,图中R1的阻值由下式确定:R1=V/1.2A,1.2A为双向开关的额定电流。当主电网电压为220V时,V=/2·220=308V,则R1=308/1.2=250Ω.所以,可控硅SCR的规格应依R1的大小进行选择。
当开关电路的负载为感性负载(如电动机等),则由于流过感性负载(线圈)的电流与电压的相位不同,需增加相应元件,方能保证开关电路的正常工作,如图46?所示。
图中双向可控硅SCR的触发电流,是由R3与C的不同数值而决定的,见表46—1。
表46—1 IG、R3及三者关系表
/IG(Ma)/R3(kΩ)/C(μF)
/15/2.4/0.1
/30/1.2/0.2
/50/0.8/0.3/
图46—7的开关电路,特别适于遥控时选用。
	
	图46-7
(3)电平转换电路
对于不同电平的转换电路或输入、输出电路的电位需要分开时,采用光电耦合器就显得十分方便了。
中图46—9的(a)与(b)图示电路,就是5V电源的TTL集成电路与15V电源的HTL集成电路,相互连接进行电平转换的基本电路。
	
	图46-9
图(a)中,TTL门电路导通时,即输出低电平,发光二极管导通,光电三极管输出高电平;TTL门电路截止时,发光二极管截止,光电三极管输出低电平。
图(b)中,则是利用TTL截止输出高电平,发光二极管导通,光电三极管输出低电平;TTL导通输出低电平,发光二极管截止,光电三极管输出高电平。
在进行具体应用时,因CMOS集成电路在低电平时的电流只有1~2mA,难以直接驱动所接的负载,故一般需加一级三极管放大电路来驱动。
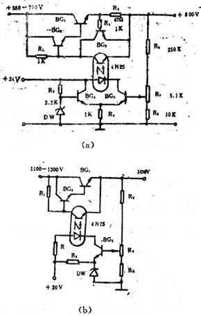
(5)高压稳压电路
串联型稳压电路,比较放大管需选用耐压高的三极管,若利用光电耦合器的输入与输出间绝缘良好的特点,便可实现高压控制。
图46—10中的(a)与(b)所示的电路,就是利用光电耦合器的高压稳压电路。
	
	图46-10
图(a)中,当输出电压因某种原因导致升高时,则BG5的偏压增加,发光二极管的正向电流增大,使光电三极管集电结电压减小,即引起调整管BG1发射结电压下降,其集电结电压上升,从而使原来升高的输出电压减小,保持输出电压的稳定。BG3管为限流保护电路。光电耦合器是工作在放大状态的。
(3)用于双稳态输出的光耦合电路
图46—8中(a)所示电路,为光电耦合器控制的双稳态输出开关电路,它的特点是由于光电耦合开关接在两管的发射极回路上,故能有效地解决输出与负载间的隔离问题。
	
	图46-8(a)
图46—8中(b)所示电路为光电耦合开关的施密特电路。当输入电压U1为低电平时,光电三极管C、e间呈高电阻,BG1导通,BG2截止,则输出电压U0为低电平;当输入电压U1大于鉴幅值时,光电三极管c、e间呈低电阻,则BG1截止,BG2导通,输出的电压U0为高电平。调节电阻R3,即改变鉴幅电平。
	
	图46-8(b)
                        电子发烧友App
                    
                
                
                    
                
                



































           
            
            
                
            
评论