一、戴维南定理

图2-7-1
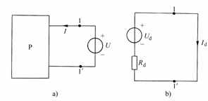
二端网络也称为一端口网络,其中含有电源的二端网络称为有源一端口网络,不含电源的二端网络称为无源一端口网络,它们的符号分别如图2-7-1(a)(b)所示。

图2-7-2
任一线性有源一端口网络(如图2-7-2(a)所示)对其余部分而言,可以等效为一个电压源
和电阻
相串联的电路(如图2-7-2(b)所示),其中
的大小等于该有源一端口网络的开路电压,电压源的正极与开路端高电位点对应;
等于令该有源一端口网络内所有独立源为零(即电压源短接、电流源开路)后所构成的无源一端口网络的等效电阻。这就是戴维南定理,也称为等效电源定理;
与
串联的电路称为戴维南等效电路。
要计算一个线性有源一端口网络的戴维南等效电路,其步骤和方法为:
1、计算
:利有电路分析方法,计算相应端口的开路电压;
2、计算
:当线性有源一端口网络A中不含受控源时,令A内所有独立电源为零后得到的无源一端口网络P则为纯电阻网络,利用无源一端口网络的等效变换就可求出端口等效电阻;当线性一端口网络A中含有受控源时,令A内所有独立电源为零后得到的一端口网络P中仍含有受控源,这时,可采用加压法和开路短路法求
。

图2-7-3
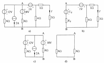
例2-7-1 利用戴维南定理求图2-7-4(a)所示电路中的电流I为多少?

图2-7-4 例2-7-1附图
解:将A、B左边部分电路看作有源一端口网络,用戴维南等效电路替代后如图2-10-4(b)所示。
(1)求
:将A、B端口开路,得到图2-10-4(c)所示电路。
由米尔曼公式得:
![]()
(2)求等效电阻
:令A、B以左的三个独立源为零,得到图2-10-4(d)所示电路,则A、B端口的等效电阻为:![]()
(3)从图2-10-4(b)中求I:
![]()

图2-7-5 例2-7-2附图
例2-7-2 在图2-7-5(a)所示电路中,已知![]()
,
,求A、B端口的戴维南等效电路。
解:(1)求
:图2-10-5(a)中A、B端口处于开路状态,列写KVL方程:

(2)求等效电阻
:下面分别用两种方法求解。
(i)开路短路法:开路电压已在(1)中求得,现求A、B端口的短路电流。将A、B端口短接,如图2-10-5(b)所示,从图中易看出:
, 即![]()
则受控源
则有:
,![]()
(ii) 加压法:将独立电压源置零后,然后再在A、B端口加上一个电压源,如图2-10-5(c)所示。
列写KVL方程:
,
,又因为: ![]()
所以: ![]()

最后,得到A、B端口的戴维南等效电路如图2-7-5(d)所示。
二、最大功率的传输条件:
当一个线性有源一端口网络化为戴维南等效电路后,在其端口接上可变电阻R,如图2-10-6所示。当
已知,那么当R为多少时它能获得最大功率?获得的最大功率又为多少?

图2-10-6
![]()
![]()
令
,得到:
(式2-10-1 )
此时
(式2-10-2)
(式2-10-1)就是最大功率的传输条件。若
是信号源内阻,R是负载电阻,则当满足最大功率传输条件时,传输效率为50%,即有一半功率消耗在信号源内阻上。
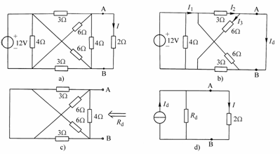
例2-7-3 在图2-7-7(a)所示电路中,两个有源一端口网络
、
串联后与R相连,R从
改变,测得
时,
;
时,
。
(1)当R为多少时,能获得最大功率?
(2)当将图2-7-7(b)所示电路代替R接于A、B端口时,
,VCVS的控制系数
,求端口电压
。

图2-7-7例2-7-3附图
解:(1)首先将两个有源一端口网络
化为戴维南等效电路,分别记为
、
、
、
,再将
、
等效为一个电压源,记为
,将串联的
、
等效为一个电阻
,于是串联的两个有源一端口网络
最后等效为一个电压源
和一个电阻
的串联,如图2-7-7(c)所示。
![]()
代入已知条件:
,![]()
解之得: ![]()
所以当
时,获得最大功率:
![]()
(2)将图2-7-7(b)所示电路接于A、B端口,利用节点电压法,由米尔曼公式得:

其中:![]()
最后得到:![]()
三、诺顿定理
任一线性有源一端口网络(如图2-7-8(a)所示)对其余部分而言,可以等效为一个电流源
与一个电阻
相并联的电路(如图2-7-8(b)所示),其中
的大小等于有源一端口网络端口的短路电流,电流的方向从高电位点流出;
等于戴维南定理中的
,即等于令有源一端口网络内所有独立源为零后所构成的无源一端口网络的等效电阻。

图2-7-8
要计算一个线性有源一端口网络A的诺顿等效电路,只要求出网络A的短路电流
、令网络A中所有独立源为零后的网络P的入端等效电阻
即可。诺顿定理中的
与戴维南定理中的
是完全相同的,因此求解方法也完全相同。

图2-7-9例2-7-4附图
例2-7-4 利用诺顿定理计算图2-7-9(a)所示电路中的电流I。
解:(1)求短路电流
:将A、B端口短接,右边
的电阻被短接,得到图2-7-9(b)所示电路。
![]()
![]()
![]()
![]()
(2)求等效电阻
:令左边12V的电压源为零,左边
电阻被短接,如图2-7-9(c)所示。
![]()
(3)画出AB端口以左电路的诺顿等效电路,如图2-7-9(d)所示。
![]()

图2-7-10例2-7-5附图
例2-7-5 求图2-7-10(a)所示电路的诺顿等效电路。
解:(1)求短路电流
:将
两端短接,如图2-7-10(b)所示。
由KVL有:
, ![]()
由KCL有:
,![]()
(2) 求A、B端口的等效电阻:令2V的电压源、1A的电流源为零,受控源仍然保留,得到图2-7-10(c)所示电路。
,
,
电子发烧友App































































评论