随着科学威廉希尔官方网站
的发展,DCS在电力行业自动控制中的应用越来越广泛。DCS控制系统的可靠性直接影响到机组的安全生产和经济运行,系统的抗干扰能力是关系到整个系统可靠运行的关键。
2017-02-16 10:36:24
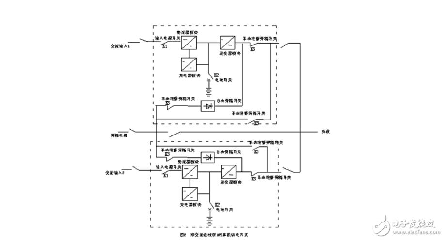
1105 控制系统的MTBF可达几万甚至几十万小时。 DCS控制系统中UPS电源的配置使用和维护 UPS系统的工作原理:将供电质量较差的厂用电源首先经整流装置变换成直流电源,一路经充电模块向蓄电池充电,另一
2018-12-03 11:11:48
DCS控制系统中的通信威廉希尔官方网站
是什么
2021-05-24 06:04:17
;另一方面,要求在工程设计、安装施工和使用维护中,引起高度重视,多方配合才能完善解决问题,有效地增强系统的抗干扰性能。 1 电磁干扰源及对系统的干扰 1.1 干扰源及干扰一般分类 影响DCS控制系统
2018-10-12 16:43:42
1、DCS系统跟PLC控制系统有什么区别? DCS更倾向于控制大量回路,广泛应用于工艺行业的大规模控制,其特点是处理量大。 PLC由继电器电路发展而来,DCS由当地仪表屏开发而来。 随着
2023-03-09 11:21:53
控制类产品名目繁多,各家叫法不一。通常使用的控制类产品包括DCS、PLC两大类。我们又将DCS的概念拓展到FCS。 DCS(Distributed Contorl System),集散控制系统
2019-09-24 06:29:42
DCS集散控制系统时钟同步有何意义?DCS系统现场时钟同步有哪些应用?
2021-09-30 08:45:48
DCS集散控制系统是什么?DCS系统时钟同步有何意义?DCS集散控制系统现场时钟同步有哪些应用?
2021-09-29 07:12:55
梅兰日兰ups电源是保障供电稳定和连续性的重要设备,因其主要机智能化程度高,储能器材采用免维护蓄电池,使得在运行中往往忽略了对该系统的维护与检修。其实维护的好坏,对电源的寿命和故障率有很大
2010-06-30 09:25:47
很多行业需要能保证在任何情况下都能有正常的供电,这里就需要UPS供电系统了。UPS电源是保障供电稳定和连续性的重要设备,因其主要机智能化程度高,储能器材采用免维护蓄电池,使得在运行中往往忽略了对该系统
2021-11-16 07:18:40
随着我国经济的不断发展,UPS电源也在各个领域有了较为广泛的应用。并列运行能够对用电的控制设备的运行进行一定的保障,并且还能有足够的时间对可能出现的紧急情况进行处理。本文主要对UPS电源并...
2021-11-16 07:20:55
调节UPS的系统参数等。(4)UPS电源的场所摆放应避免阳光直射,并留有足够的通风空间,同时,禁止在UPS输出端口接带有感性的负载。(5)禁止超负载使用,厂家建议:UPS价格的最大启动负载最好控制在80
2017-11-22 14:28:44
UPS系统中电源故障了要怎么办?要知道对于整个系统而言,各功能电路的工作电源的重要性是不言而喻的,因为一旦工作电源出现故障,整个装置就陷入瘫痪状态,正常工作就无从谈起,因此工作电源必须可靠、精确
2015-12-30 16:27:46
正常工作并保护负载软、硬件不受损坏。 关键字:UPS、整流、逆变器、开关电源 二、UPS系统介绍及过程分析 图一是个非常典型的UPS在地铁中的应用,从上图中可以明显看到,该系统包含配电柜、UPS
2018-10-10 16:40:59
很多人认为蓄电池是不需要维护的,尤其是在使用UPS电源时,这种想法就更加明显。但实际上,由于蓄电池缺乏维护而导致的问题在UPS的全部故障占比中相当高。所以,例行对UPS的蓄电池进行维护,将很大程度
2018-10-08 15:21:23
一、方案背景:UPS电源是将蓄电池与主机相连接,通过主机逆变器等模块电路将直流电转换成市电的系统设备。蓄电池作为UPS系统的组成部分,能否加强蓄电池的维护管理,将直接关系到系统的运行质量。而对
2021-11-16 06:59:03
在ups电源日常维护中是非常重要的。在负载比较重的条件下,掌握一些关键数据,一个是三相电流值,电压值和频率,第二个是联接线接点是否有发烫、过热现象,这是事故苗头,大负载能够运行正常,那么平日里
2022-01-03 06:43:54
GPS卫星授时服务器在DCS集散控制系统应用方案GPS卫星授时服务器在DCS集散控制系统应用方案安徽京准科技提供随着计算机和网络通信威廉希尔官方网站
的飞速发展,各行业自动化系统数字化、网络化的时代已经到来。这一
2021-07-02 08:06:49
分布式控制系统分布式控制系统 (distributed control systems,简称DCS),又称为分散控制系统,分散型控制系统,集散控制系统.行业内业称4C威廉希尔官方网站
既Control控制威廉希尔官方网站
2010-03-01 22:19:00
本帖最后由 mr.pengyongche 于 2013-4-30 03:00 编辑
基于DSP在线式UPS不间断电源控制系统的研究 随着计算机的普及和信息处理威廉希尔官方网站
的广泛应用,不间断电源UPS在
2013-01-10 11:24:18
一些根本就没有必要进行电源保护的设备都连接到UPS上,这样只能加重UPS的运行负担,让UPS电源的使用寿命在不知不觉中缩短。正确的做法是适度控制与UPS电源的连接负载,保证UPS的负载不超过额定功率
2010-06-30 09:28:26
,给社会生产生活带来巨大的损失。 电厂提高DCS控制系统可靠性的措施 在dcs系统中,采用了许多提高可靠性的威廉希尔官方网站
措施。这些威廉希尔官方网站
措施是建立在以下四种基本思想上的: ①使系统本身不易发生故障,即所谓
2018-12-03 11:05:31
随着电脑的日益普及,电脑的保护神【UPS电源】也得到了广泛的应用。UPS电源是使用简单但又容易损坏的设备。科学的使用和维护将会延长UPS电源的寿命。 1)尽量不接电感性负载。因为电感性负载的启动
2013-11-25 11:48:17
结合石化系统现有UPS馈出配电方式和中石化《生产装置过程控制仪表电源供电系统威廉希尔官方网站
管理规定(暂行)》,分析适合于海南炼化的最优化UPS馈出配电方式,并提出合理化整改建议。【关键词】:UPS;;整流
2010-05-06 08:59:35
的干扰造成DCS控制系统故障的情况很多。 DCS系统的正常供电电源均由电网供电。 由于电网覆盖范围广,它将受到所有空间电磁干扰而在线路上感应电压和电路。尤其是电网内部的变化,入开关操作浪涌
2011-11-21 17:01:13
电视电源稳压控制系统
2021-03-16 15:47:12
与联锁系统的可靠性,人们注意到DCS、ESD设备的可靠性设置--冗余配置、三重化设置等,使DCS、PLC的平均无故障工作时间MTBF=1.25Mh以上。但我们必须清醒地认识到,要保证仪表控制系统可靠地
2018-09-26 09:56:40
DCS是分散控制系统的简称,在仪器仪表领域中的自控仪表中有着重要的作用,占据着核心地位。在自控仪表中的DCS最重要的作用就是抗干扰能力,DCS是整个自控仪表的大脑及神经中枢还是整个操作流程的眼镜
2014-05-09 15:17:40
现代工业的迅速发展,不断促进着自动化控制威廉希尔官方网站
及设备通信威廉希尔官方网站
创新的发展。当前,PLC、DCS、智能仪表等已广泛应用到现场生产控制系统中,并发展到由上述设备相互协同、共同面向整个生产过程的分布式工业
2019-09-26 07:37:11
摘要介绍了国产DCS 控制系统在山东铝业公司氧化铝厂1920t/ d 氧化铝循环焙烧炉国产化项目中的应用。阐述了焙烧炉的工艺流程、DCS 系统的硬件配置及软件组态,并对在相同工艺条件
2009-01-17 13:26:04
31 本文讲述的是比值控制在DCS控制系统中的应用。
2009-04-07 11:55:31
17 介绍了国产DCS 控制系统在山东铝业公司氧化铝厂1920t/ d 氧化铝循环焙烧炉国产化项目中的应用。阐述了焙烧炉的工艺流程、DCS 系统的硬件配置及软件组态,并对在相同工艺条件下所
2009-04-07 11:57:10
30 介绍了在PPVC 的聚合、干燥装置扩产过程中横河DCS 的分布式控制系统CS3000 的改造应用情况。阐述了系统的工艺流程、硬件配置、软件配置和控制系统完成的主要功能。
2009-04-07 12:00:54
20 介绍了杭州电化集团有限公司在氯乙烯精馏中采用浙大中控JX - 300X DCS控制系统的情况 ,并分析了精馏中关键的控制方案。
2009-04-11 10:45:12
32 介绍基于PLC的DCS控制系统在污水处理厂的应用。
与传统的DCS系统相比,以该方式搭建的DCS控制系统满足了污水处理厂自动化生产的需要,实现了系统配置的灵活性,降低了
2010-06-24 16:25:17
38 PLC、DCS、FCS三大控制系统的特点
FCS是由PLC发展而来的;而在另一些行业,FCS又是由DCS发展而来的,所以FCS与PLC及DCS之间有着千丝万缕的
2009-06-17 14:04:51
1287 PLC、DCS、FCS三大控制系统的特点和差异
本文对PLC、DCS、FCS三大控制系统的特点和差异进行了分析,指出了三种控制系统之间的渊源及发
2009-06-19 12:59:22
2658 
DCS系统在电厂水网控制系统中的应用
文章详细介绍了基于HOLLiASMACS的电厂水网控制系统的网络组成及控制策略,该威廉希尔官方网站
方案对电厂水网的改造有一定
2009-11-13 15:23:46
1107 DCS控制系统在原油稳定压缩机中的应用
文章介绍了DCS系统在压缩机装置的应用,包括DCS系统特点,自控改造方案,设备仪表选型,报警措施等。
2009-12-08 15:42:40
936 
目前,国内DCS控制系统得到广泛应用,它具有控制效果好、可靠性高、系统维护量小、易于组态等特点。在华蓥山电厂2×100 MW机组DCS改造项目中,将锅炉定期排污程控纳入DCS控制系统(以
2011-06-15 09:02:01
1623 DCS是分布式控制系统的英文缩写(Distributed Control System),在国内自控行业又称之为集散控制系统
2011-06-21 11:48:30
1474 传统的集散型控制系统(DCS)与可编程序逻辑控制系统(PLC)之间的界限已不象以前那样明显了。对于控制系统工程师来说, 给一个具有连续的, 顺序的以及适应性控制要求的对象柞出合适
2011-09-02 17:32:35
59 DCS集散控制系统在我国各行各业中应用日益广泛, 但其电磁兼容性问题尚未得到足够的重视。本文系统介绍了工业应用中DCS集散控制系统电磁干扰产生的根源和相应的抑制措施, 有助于帮
2011-09-05 16:28:38
51 DCS控制系统英文全称是DIstributed Control System。DCS控制系统基本包括模拟量控制系统(MCS),顺序控制系统(SCS),汽机DEH系统,电气ECS系统,旁路控制系统BCS系统。
2011-12-27 17:00:00
20862 DCS是什么意思? DCS是计算机威廉希尔官方网站
、控制威廉希尔官方网站
和网络威廉希尔官方网站
高度结合的产物,是目前最先进、最合理的过程控制系统,可以适应各种过程控制的要求。它的过程控制点分散,系统具有很高的
2012-09-13 09:31:38
103332 
单片机与DCS集散控制系统,labview方面的基础知识。
2016-01-12 14:35:57
11 UPS是由电力变流器、储能装置、蓄电池和开关等组合而成的一种电源设备,这种电源设备能在交流输入电源发生故障时保证向负载供电连续性。本文首先介绍了UPS电源的若干形式及其工作原理,然后根据我厂DCS装置对电源的改造,说明UPS在DCS系统中的 应用。
2016-05-11 15:40:59
8 工业控制系统(ICS)是一个通用术语,涵盖多种类型的控制系统,包括监控和数据采集(SCADA)系统,分布式控制系统(DCS),和其他较小的控制系统配置,如经常在工业部门和关键基础设施中用到的防滑安装的可编程逻辑控制器(PLC)。
2017-04-20 17:18:59
14137 三大控制系统介绍 目前,在连续型流程生产自动控制(PA)或习惯称之为工业过程控制中,有三大控制系统,即DCS(分散控制系统)、PLC(可编程逻辑控制器)和FCS(现场总线控制系统) 。 DCS
2017-09-30 09:36:08
5 本文介绍了水处理工艺中 DCS控制系统的配置方案和控制方式 ,以及该系统所要实现的功能。
2017-09-30 16:03:45
4 分散、操作管理集中的特点,能适应不同的应用规模和要求,便于设计、维护和操作使用。 MaxDNA可以构成独立控制系统、分散控制系统(DCS),监控和数据采集系统等。它可以完成实时数据采集、过程控制、顺序控制、报警检测、监视操作,可以对数据进行记录、统计、显示、
2017-10-11 10:52:03
3 计算机集散控制系统,又称计算机分布式控制系统(Distributed Control System),简称DCS系统。他是一种综合了计算机威廉希尔官方网站
、控制威廉希尔官方网站
、通信威廉希尔官方网站
、CRT威廉希尔官方网站
,即4C威廉希尔官方网站
,实现对生
2017-10-16 15:26:23
5 造纸、冶金、电力、石化和建筑等行业。华章公司还开发了一系列控制系统产品:交直流传动控制系统、分布式过程控制系统(DCS)、智能马达控制中心(MCC)和纸张定量水分控制系统(QCS)等。 2004
2017-10-16 15:56:04
0 锅炉dcs控制系统概述 集散控制系统(DCS)又名分布式计算机控制系统,是利用计算机威廉希尔官方网站
对生产过程进行集中监测、操作、管理和分散控制的一种新型控制威廉希尔官方网站
。是由计算机威廉希尔官方网站
、信号处理威廉希尔官方网站
、测量控制威廉希尔官方网站
2017-10-17 10:57:30
13819 DCS即分布式控制系统(集散控制系统),指控制分散、风险分散、操作显示集中、采用分布式结构的智能网络控制系统。它是由计算机威廉希尔官方网站
、信号处理威廉希尔官方网站
、测量控制威廉希尔官方网站
、通信网络威廉希尔官方网站
、人机接口威廉希尔官方网站
相互发展渗透
2017-10-18 17:20:07
7 什么是dcs控制系统 集散控制系统(DCS)又名分布式计算机控制系统,是利用计算机威廉希尔官方网站
对生产过程进行集中监测、操作、管理和分散控制的一种新型控制威廉希尔官方网站
。是由计算机威廉希尔官方网站
、信号处理威廉希尔官方网站
、测量控制威廉希尔官方网站
2017-10-18 18:31:15
20132 
1. DCS控制系统(Distributed Control System,分散控制系统)用于大型生产工业自动化,他是计算机威廉希尔官方网站
、系统控制威廉希尔官方网站
、网络通信威廉希尔官方网站
和多媒体威廉希尔官方网站
相结合的产物,提供窗口有好的人
2017-10-26 10:00:05
12 UPS不仅是不间断供电装置,还具有电力净化的作用。本文将重点讨论UPS的选择和配置、蓄电池组容量的选择和配置以及UPS电源的安装与维护。 UPS即不间断电源,随着各种电子设备的普及,UPS电源得到
2017-10-30 10:16:08
11 在电厂的运行中,DCS控制系统的应用对电厂的运行具有十分重要的作用。因此,必须提高DCS控制系统的可靠性,避免系统的各种干扰因素,优化系统的运作,提高电厂运行的效率,保证电厂工作的稳定性。本文首先分析了电厂提高DCS控制系统可靠性的意义,然后提出了电厂提高DCS控制系统可靠性的措施。
2017-12-06 18:56:45
1942 
在电力行业,为提高火电机组运行人员的操作水平及业务素质,利用仿真机进行培训、考核是1个行之有效的方法。现今大多数机组都采用DCS控制系统,对机组的调整操作主要是基于操作员站。火电机组仿真模型
2017-12-07 10:00:40
3200 
DCS是分布式控制系统的英文缩写,在国内自控行业又称之为集散控制系统。是相对于集中式控制系统而言的一种新型计算机控制系统,它是在集中式控制系统的基础上发展、演变而来的。它是一个由过程控制级和过程监控级组成的以通信网络为纽带的多级计算机系统
2017-12-07 11:36:11
2960 
集散控制系统是以微处理器为基础,采用控制功能分散、显示操作集中、兼顾分而自治和综合协调的设计原则的新一代仪表控制系统。集散控制系统简称DCS,也可直译为“分散控制系统”或“分布式计算机控制系统”。
2017-12-07 13:40:41
4810 DCS集散控制系统 随着信息威廉希尔官方网站
的飞速发展,当前,DCS系统在煤、电、化工等工业领域应用广泛,逐渐从原来的配角角色转变为决定各工业企业安全经济运行的主角地位。通过各项实践证明,集散控制系统的应用,在大大减轻了工作人员的工作强度的同时,也提高了工作效率。
2018-04-04 15:57:00
10453 DCS是分布式控制系统的英文缩写(Distributed Control System),在国内自控行业又称之为集散控制系统。即所谓的分布式控制系统,或在有些资料中称之为集散系统,是相对于集中式
2018-02-28 11:23:44
25204 在工业自动化控制中,DCS控制系统和PLC控制系统都是我们常用的自动化控制系统,两者各有千秋,都可以用来接受和控制模拟量信号或者开关量信号,一般而言:PLC更偏向电气控制,开关量控制使用的频率相对高点,DCS更偏向于系统化仪表,模拟量使用的频率更高。
2018-04-04 14:38:20
17822 
DCS投运正常后,应定期对其进行检查,以确保整个系统能够长时间持续正常工作。定期检查可使用专门的“DCS定期巡检记录表”,作为DCS的维护与使用的主要记录,其检查的主要内容如下:
2018-04-11 15:10:52
43380 DCS(Distributed Contorl System),集散控制系统,又称分布式控制系统。FCS(FieldBus Contorl Syestem),现场总线控制系统.PLC(Program
2018-11-03 11:16:55
15854 关于DCS就是集散控制系统的简称,通常也会被称之为“分散控制系统”。DCS就是把现场仪表信号传输进控制室统一管理,分软体和硬体。分别需要懂仪表和电脑程序相关知识。集散控制系统是以微处理为基础的集中分散控制系统,它的主要特征是集中管理和分散控制。
2018-11-05 10:46:02
25024 DCS作为大型控制系统,它采用的通信方式无非就是数字通信和模拟通信。数字通信它在DCS使用就是在监视层和管理层。
2018-12-15 10:28:23
5072 
DCS控制系统点数通常由设计院统计提供,DCS系统点数是仪表专业I/O点数、电气专业I/O点数和DCS系统与其他系统的通讯点数总和。准确统计电气和仪表I/O点数可避免电气和仪表专业出现协调不一致的问题,准确的DCS点数能为使用单位决策DCS系统品牌和DCS系统造价提供依据。
2018-12-23 17:02:00
10749 DCS是分布式控制系统在国内自控行业又称之为集散控制系统。
2018-12-29 11:05:20
4045 在工业自动化控制中,DCS控制系统和PLC控制系统都是我们常用的自动化控制系统,两者各有千秋,都可以用来接受和控制模拟量信号或者开关量信号,一般而言:PLC更偏向电气控制,开关量控制使用的频率相对高点,DCS更偏向于系统化仪表,模拟量使用的频率更高。
2019-02-12 15:09:40
4845 历史数据站是分散控制系统 DCS 的重要部分。
2019-04-30 11:30:23
11670 工业控制系统(ICS)是一个通用术语,涵盖多种类型的控制系统,包括监控和数据采集(SCADA)系统,分布式控制系统(DCS),和其他较小的控制系统配置,如经常在工业部门和关键基础设施中用到的防滑安装的可编程逻辑控制器(PLC)。
2019-09-13 14:13:00
2273 集散控制系统DCS维护前准备工作 1、根据设计方案提供的文档资料,了解系统总体设计思路。 需要熟悉DCS系统结构和功能构成,使自己对系统有一个整体认识。如我公司采用的横河CentumCS系统主要
2019-10-07 17:16:00
2869 工业控制系统(ICS)是一个通用术语,涵盖多种类型的控制系统,包括监控和数据采集(SCADA)系统,分布式控制系统(DCS),和其他较小的控制系统配置,如经常在工业部门和关键基础设施中用到的防滑安装的可编程逻辑控制器(PLC)。
2019-10-16 11:21:31
1756 工业控制系统(ICS)是一个通用术语,涵盖多种类型的控制系统,包括监控和数据采集(SCADA)系统,分布式控制系统(DCS),和其他较小的控制系统配置,如经常在工业部门和关键基础设施中用到的防滑安装的可编程逻辑控制器(PLC)。
2019-11-11 10:03:37
2672 DCS控制系统的日常维护主要包含了:控制室管理、操作员站硬件管理、操作员站软件管理、操作员站检查、控制站管理、控制站检查、通信网络管理。
2019-11-28 09:14:54
2335 工业控制系统(ICS)是一个通用术语,涵盖多种类型的控制系统,包括监控和数据采集(SCADA)系统,分布式控制系统(DCS),和其他较小的控制系统配置。
2020-01-27 09:30:00
1486 分散控制系统DCS基础知识汇总文件下载
2021-04-14 17:10:49
32 DCS控制系统PID参数的整定方法.(深圳市普德新星电源威廉希尔官方网站
有限公司怎么样)-该文档为DCS控制系统PID参数的整定方法.讲解资料,讲解的还不错,感兴趣的可以下载看看…………………………
2021-08-04 15:40:18
44 DCS和PLC控制系统升级改造分析(深圳市核达中远通电源威廉希尔官方网站
有限公司怎么样)-该文档为DCS和PLC控制系统升级改造分析总结文档,是一份很不错的参考资料,具有较高参考价值,感兴趣的可以下载看看………………
2021-09-16 12:00:19
20 ups电源及dcs系统抗干扰措施(现代电源威廉希尔官方网站
)-DCS系统具有较高的灵活性与扩展性。具有先进的过程操作画面,具有各种控制功能,运算功能,并能实现工艺参数趋势预测,历史数据显示和各种报警功能。从而
2021-09-22 10:59:07
2 的应用。并列运行能够对用电的控制设备的运行进行一定的保障,并且还能有足够的时间对可能出现的紧急情况进行处理。本文主要对UPS电源并列运行分析及维护进行一定的分析,旨在更好的应用UPS电源。一、引言 UPS电源是保证电子设备进行持续工作的重要保障,主要运用于我国各大复杂的工程项目当中,..
2021-11-09 09:06:00
15 UPS电源的工作原理及维护【摘要】本文阐述了UPS电源的种类和运行特点,以及日常应用中的维护和维修方法。【关键词】UPS;逆变器;智能化;蓄电池;维护UPS电源也称不间断电源,能够提供持续、稳定
2021-11-09 11:06:04
8 DCS与现场总线控制系统资料下载免费下载。
2022-03-31 14:17:45
5 本篇文章对DCS控制的结构与特点进行了简要的阐述,在此基础上,对化工企业DCS控制系统的选型进行简单介绍和讨论,并对DCS控制系统的常见故障与日常维护进行介绍。
2022-12-08 14:25:59
3465 DCS控制系统通常由多个分布在工厂各个区域的控制器组成,这些控制器可以相互通信,以实现整个工厂的自动化控制。这些控制器可以通过计算机网络连接到中央控制室,以进行数据收集、监测和控制。
2023-03-22 15:44:40
1392 DCS系统的应用现在较为广泛,很多的行业,都已经采纳了DCS系统,例如石油化工行业,冶金行业,生物制药行业等等,都采用了DCS控制,因为这些行业基本上都是过程控制,而对于过程控制,DCS系统绝对是适合不过的,能够对生产过程的控制达到最优,这是采用DCS系统的最初原因。
2023-03-22 15:48:54
2264 分散控制系统(DCS)是指一种多个控制器互相协调工作,实现系统自动化控制的威廉希尔官方网站
方案。DCS通常应用于工业生产、制造和处理等领域,包括化工、制药、食品、纸浆和造纸等行业。它们在对生产过程进行监控和控制、流程优化、安全和可靠性等方面发挥着重要作用。
2023-04-16 16:57:27
3054 工业控制系统(ICS)是一个通用术语,随着工业威廉希尔官方网站
的快速发展,相继出现了集散控制系统和现场控制系统。涵盖多种类型的控制系统,包
括监控和数据采集(SCADA)系统,分布式控制系统(DCS),和其他
2023-04-18 10:30:56
1 目前DCS集散控制系统可以广泛应用于工业设备的生产控制和管理,广泛应用于化工、电力、冶金等过程自动化领域。dcs是什么意思,以及dcs控制系统的特点。
2023-08-01 15:54:38
1814 目前DCS集散控制系统可以广泛应用于工业设备的生产控制和管理,广泛应用于化工、电力、冶金等过程自动化领域。dcs是什么意思,以及dcs控制系统的特点。
2023-08-01 15:55:15
1182 UPS电源对保护数据和机器设备不受损害有很重要的作用。因此,正确使用和维护UPS,就显得相当重要。其实,合理地维护和使用UPS,是需要贯穿UPS的整个生命周期的。
2023-11-14 15:03:00
0 DCS(分布式控制系统)和PLC(可编程逻辑控制器)是现代工业控制系统中两种常见的控制设备。它们在工业自动化领域中起着重要的作用,但在一些方面存在着一些明显的区别。 DCS是一种在工业过程控制系统
2024-01-22 15:06:55
337 DCS(分散控制系统)是一种广泛应用于工业自动化领域的控制系统。它具有分散控制、集中管理的特点,能够实现对生产过程的进行实时监测、控制和管理。本文将详细介绍DCS控制系统的原理和基本功能。 DCS
2024-02-02 11:17:55
421
评论