资料介绍
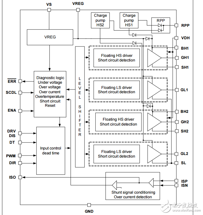
The TLE7181EM is a H-bridge driver IC dedicated to control 4 N-channel MOSFETs typically forming the converter for a high current DC motor drives in the automotive sector. It incorporates several protection features such as over current and short circuit detection as well as under-, over voltage and over temperature diagnosis. Typical applications are fans, pumps and electric power steering. The TLE7181EM is designed for a 12V power net.

- LN4203南麟600V 半桥栅极驱动器
- SPI控制的三桥半桥驱动器评估板NCV7703CGEVB数据手册 0次下载
- IU9019双通道H桥电机驱动芯片
- EG2133三相独立半桥驱动芯片中文手册 13次下载
- 无锡安趋半桥驱动芯片ID2206D代换 ir2106驱动芯片
- ID2006 200V高低侧半桥驱动芯片单相igbt驱动芯片
- ID2005半桥igbt驱动芯片-国产200V半桥驱动芯片
- ID1127双低侧mos驱动器3.7A大电流电机半桥驱动芯片
- ID5S609F1 600V半桥驱动芯片兼容IR2304
- FD6287半桥栅极驱动集成电路芯片数据手册免费下载 213次下载
- DRV8313 三个半 H桥驱动器集成电路 (IC) 54次下载
- 电机驱动四路半桥测试(常规和滑行) 7次下载
- MOSFET半桥驱动芯片IR2111 923次下载
- 基于双SG3525的半桥同步整流电路
- IR2304半桥驱动集成电路的功能原理及应用
- 其利天下威廉希尔官方网站 开发·一文搞懂全桥电路和半桥电路·无刷电机驱动方案 222次阅读
- 半桥电路与全桥电路的区别 1.2w次阅读
- SGM48211系列120V高压半桥栅极驱动产品解读 1243次阅读
- 传统驱动桥与电动驱动桥测试方法比较 2267次阅读
- 对称半桥LLC电路原理讲解 9626次阅读
- 实现隔离式半桥栅极驱动器的设计基础 3185次阅读
- 应用笔记|半桥中点负压及应对策略 5376次阅读
- H桥电机驱动电路设计与解析 1.1w次阅读
- 荣湃半桥驱动芯片具备哪些出色性能表现 3613次阅读
- 半桥GaN应用中的交叉传导解决方案 1499次阅读
- 区分电磁加热器全桥与半桥控制板? 7391次阅读
- 隔离式半桥栅极驱动器设计的基础知识合集 7328次阅读
- 一文看懂整流桥和桥堆有什么区别 8.7w次阅读
- 半桥驱动电路工作原理及作用 11w次阅读
- 半桥电路的运行原理及注意问题 1.7w次阅读
下载排行
本周
- 1TC358743XBG评估板参考手册
- 1.36 MB | 330次下载 | 免费
- 2开关电源基础知识
- 5.73 MB | 6次下载 | 免费
- 3100W短波放大电路图
- 0.05 MB | 4次下载 | 3 积分
- 4嵌入式linux-聊天程序设计
- 0.60 MB | 3次下载 | 免费
- 5基于FPGA的光纤通信系统的设计与实现
- 0.61 MB | 2次下载 | 免费
- 651单片机窗帘控制器仿真程序
- 1.93 MB | 2次下载 | 免费
- 751单片机大棚环境控制器仿真程序
- 1.10 MB | 2次下载 | 免费
- 8基于51单片机的RGB调色灯程序仿真
- 0.86 MB | 2次下载 | 免费
本月
- 1OrCAD10.5下载OrCAD10.5中文版软件
- 0.00 MB | 234315次下载 | 免费
- 2555集成电路应用800例(新编版)
- 0.00 MB | 33564次下载 | 免费
- 3接口电路图大全
- 未知 | 30323次下载 | 免费
- 4开关电源设计实例指南
- 未知 | 21549次下载 | 免费
- 5电气工程师手册免费下载(新编第二版pdf电子书)
- 0.00 MB | 15349次下载 | 免费
- 6数字电路基础pdf(下载)
- 未知 | 13750次下载 | 免费
- 7电子制作实例集锦 下载
- 未知 | 8113次下载 | 免费
- 8《LED驱动电路设计》 温德尔著
- 0.00 MB | 6653次下载 | 免费
总榜
- 1matlab软件下载入口
- 未知 | 935054次下载 | 免费
- 2protel99se软件下载(可英文版转中文版)
- 78.1 MB | 537796次下载 | 免费
- 3MATLAB 7.1 下载 (含软件介绍)
- 未知 | 420026次下载 | 免费
- 4OrCAD10.5下载OrCAD10.5中文版软件
- 0.00 MB | 234315次下载 | 免费
- 5Altium DXP2002下载入口
- 未知 | 233046次下载 | 免费
- 6电路仿真软件multisim 10.0免费下载
- 340992 | 191185次下载 | 免费
- 7十天学会AVR单片机与C语言视频教程 下载
- 158M | 183279次下载 | 免费
- 8proe5.0野火版下载(中文版免费下载)
- 未知 | 138040次下载 | 免费
电子发烧友App





创作
发文章
发帖
提问
发资料
发视频
上传资料赚积分
评论