据苹果专利网站Patently Apple消息,近日苹果曾在香港相关部门申请的数项专利被公开。这些专利都是有关界面设计方面,或许可以让我们一窥其设计师的思路。
2012-07-02 10:56:14
952 
根据美国专利商标局披露的信息,苹果再次注册了充满想象力的一项专利——“环绕式显示屏”。这项专利的申请标题为“采用环绕式显示屏的电子设备”,是用于便携设备屏幕的威廉希尔官方网站
。
2016-01-28 08:05:11
876 2月17日消息,据科技网站TechRadar报道,是不是觉得一天一充的Apple Watch根本算不上合格的智能手表?别担心,苹果备着大招呢,最新专利显示,它们准备将机械表的一项功能引入Apple
2017-02-17 13:41:58
1074 1. 苹果获得新专利,可使iPad 在绘图时为Apple Pencil 充电 据苹果专利网站显示,近日,美国专利商标局正式授予苹果一项与未来iPad相关的专利,使iPad可以支持显示屏
2023-06-08 11:20:24
797 
导读:信息协会授予Apple Watch Series 4“年度最佳显示屏”称号,该奖主要是授予给显示屏具有重要威廉希尔官方网站
进步或突出特点的产品。
据悉,The Society
2019-05-11 09:25:18
竞争,很可能就是传感器性能的竞争,从最近苹果曝光出来的几个Apple Watch传感器专利,我们大概也可以预测得到苹果打算让这款手表朝着哪一种智能化方向而去。 监测环境——包括空气质量和雾霾 12月
2016-12-13 16:07:24
12月5日消息,苹果和三星之间的专利战终于有了结果。三星宣布,已同意向苹果公司支付5.48亿美元的专利侵权赔偿金。三星已经表示,会在苹果发出原始发票后的第十天支付这笔赔偿金。这意味着如果苹果在12月
2015-12-07 17:01:52
更便宜的Galaxy Fold和Galaxy Fold 2。可折叠屏被认为是智能手机的未来,三星可以说是这一威廉希尔官方网站
的领军企业,并一直致力于使其可折叠显示屏实现自给自足。欢迎分享本文,转载请保留出处:http://www.eechina.com/thread-589819-1-1.html【打印本页】
2020-05-23 09:31:29
夏天是炫彩的季节,满眼的色彩挑动着人们的视觉神经。三星GALAXY Tab S平板带着最牛Super AMOLED显示屏,在这个夏天为我们上演一场诱人眼球的色彩大戏。这个据说业界最牛的屏幕到底牛在哪
2014-06-28 10:00:27
MOPIC的无需佩戴眼镜或设备就能实现VR的3d智能手机壳。三星note8手机壳为什么能做3d显示屏?其实,原理是将凸透镜制作成薄膜,贴在手机壳上。与之前的威廉希尔官方网站
不一样的是,在观看虚拟现实(VR)时是不需要
2017-11-27 12:00:18
了!作为安卓阵营里的老大哥,三星近年来似乎走在了消费市场的边缘。曲面屏叫好不叫座、可折叠手机迟迟未见上市,貌似只有在其他厂商新品发布的时候,才会顺带在显示屏方面出现三星的名字。三星这可不乐意了。三星
2018-10-29 17:01:33
三星和苹果谁是赢家?
2012-09-11 13:48:29
”,无疑令三星雪上加霜。 因受市况每况愈下的影响和制约,韩国三星电子的发展面临着巨大的挑战。据最新报导显示,三星电子计划明年将半导体事业的投资ST22I支出砍半,从134亿美元降至70亿美元,提前
2012-09-21 16:53:46
MAX3232EUE+T也表示将增加对三星显示屏幕的采购量,以用于Kindle Fire HD平板电脑。 根据市场研究公司DisplaySearch的调查显示,2012上半年三星旗下的三星显示器公司向苹果提供了超过
2012-10-23 17:06:29
三星宣布将开发手持式装置用的RFID(radio frequency identification)读取芯片,能让使用者透过手机得知产品和服务信息,但三星并未透露产品何时上市。 三星指出,RFID
2019-07-04 07:26:16
三星电子(Samsung Electronics Co.)发布了平板电脑产品Galaxy Tab,与苹果公司(Apple Inc.)iPad竞争。目前越来越多的公司争相加入到方兴未艾的平板电脑市场
2011-03-03 16:37:52
新鲜出炉的三星和苹果财报显示,两家企业成为全球手机市场的最大赢家。三星移动通讯业务过去一个财季实现营运收入26.25万亿韩元,而苹果的iPhone及其相关产品和服务的营收为171.25亿美元,两家
2012-10-30 16:38:28
观点:苹果与三星这场“世纪专利大战”的硝烟看似早已渐去,实际上这两家公司在全球各地的法院展开的专利大战还未了结,双方又开始酝酿一场新的战斗。而且,三星MAX3232EUE+T 推出新的平面广告
2012-10-09 16:39:58
Center)”就几乎长得跟安卓的“通知中心”一模一样。而如今三星也以此为由,在韩国主场将苹果告上了法庭。国外媒体 cultofmac 报道,苹果和三星正在满世界的打专利战,现在韩国将会再次成为他们
2012-12-22 19:50:53
和iPhone就要向三星支付8位数的现金。同时,这还会帮助三星提高在全球智能手机市场的优势。根据以上分析,苹果和英特尔合作将给两家公司带来巨大的好处。这个交易将使三星的处境更加不利。因此,我们非常欢迎今年推出
2013-03-12 11:40:10
11月1日消息,据国外媒体报道,苹果向威斯康辛州一家法庭表示,愿意向谷歌旗下摩托罗拉移动付费以获得该公司拥有的“标准要素”无线专利授权,但费率不超过每MAX3232EUE+T销售1台iPhone 1
2012-11-01 16:50:48
半导体公司Dialog负责,博通供应无线网路芯片,以及NXP负责NFC芯片。关于最重要的A10芯片,苹果一改此前双芯片供应商的策略,即由三星和台积电负责;以去年A9为例,就是分别采用台积电16nm芯片
2016-07-21 17:07:54
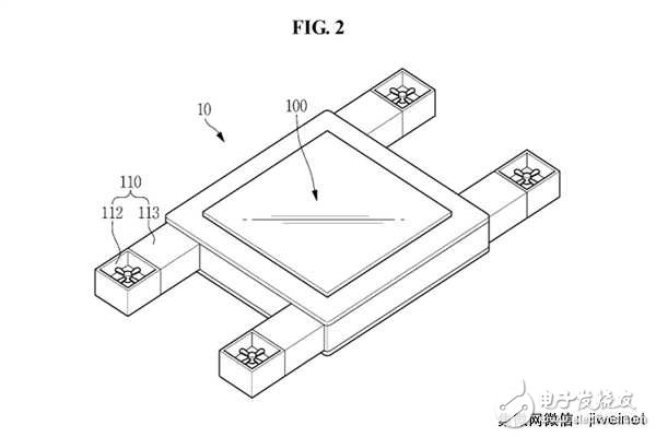
。”以上是苹果的专利中的FIG. 1 插图,在苹果的专利描述中,编号100 指的是一款电子设备,可以是iPhone、Macbook Pro、iPad、显示器、或者说电视等产品。编号110 指的则可
2012-12-28 13:45:56
苹果获得Macbook Pro非对称散热风扇设计专利本周四苹果获准了三项新专利,专利内容主要与最新Retina显示屏MacBook Pro上的非对称散热风扇叶片相关,这种设计可在极大降低散热带来噪音
2012-12-23 10:30:52
`苹果获滑动解锁手势专利 Android阵营全陷侵权新浪科技讯 北京时间10月26日早间消息,美国专利商标局周二向苹果授予了“滑动解锁”手势的专利。目前,滑动解锁手势已经被许多产品使用。这一威廉希尔官方网站
最先
2011-10-26 15:23:08
广泛,况且教授并非3GPP组织协会的成员之一,教授创办公司代表GPNE,从2008年开始,先后在美国先后起诉摩托罗拉、思科、黑莓、三星、LG、索尼爱立信、夏普、HTC等多家知名移动设备商,先后签署和解
2017-01-05 11:12:22
将会因此下滑。 苹果的另一个老伙伴——三星同样在近期十分引人注目。苹果在和三星的专利诉讼案中获胜。而苹果将在iPhone 5中换掉大部分三星生产的零部件,转战***厂商。“虽然苹果暂时还不能摆脱
2012-09-22 10:17:03
北京时间10月26日上午消息,根据一份新的供应链报告,LG Display成为苹果新一代产品的主要显示屏供应商,取代了竞争对手三星电子。 据称,苹果最近发布的iPad mini、配备Retina
2012-10-26 16:40:33
http://www.hds668.comMac电脑启动声音“咚——”已经成为苹果专利据Patently Apple报道,美国专利和商标局正式批准Mac电脑启动时发出的“咚——”声音成为苹果注册商标
2012-12-13 09:59:13
水电阻的大小,完成电机的启动过程。它是一个开拓型发明专利,不存在与其相冲突的公知威廉希尔官方网站
(附件2,附件4,附件5)。根据审Ⅱ.Ⅳ-4.1相关规定,对于开拓型专利,本身就具备创造性。本专利已通过了国家火炬项目
2010-04-22 10:52:39
3月14日消息,今日公开的一份专利申请文件显示,苹果正在为其移动设备申请无线充电威廉希尔官方网站
专利。事实上,无线充电威廉希尔官方网站
已经存在多年,通常是指利用充电站来取代电源线。目前Palm和谷歌等知名企业都拥有无线充电
2013-03-15 11:21:48
拒交专利费? “贵或不贵”:一是主观感受,二要看跟谁比 在智能手机领域的专利大战中,最具影响力的莫过于苹果诉三星专利侵权案。 2011年4月15日,苹果(Apple)向美国北加州圣荷西联邦
2016-07-12 16:18:47
4.4%,夏普暴跌3.3%,三星下跌1.4%(图片来源彭博社) 毫无疑问,苹果自主研发显示屏,对于整个显示行业来说,都有着巨大的影响,从目前来看就有着以下几个方面:1,缩小以三星、LG为首的韩系面板厂
2018-03-23 15:31:33
电动汽车转移到了自动驾驶系统,但苹果仍然继续着自动驾驶汽车的测试,并且在进行相关的威廉希尔官方网站
研发。不过在该专利曝光之前,我们并不知道苹果还有开发VR系统的计划。本文来自威雅利电子服务号
2018-04-24 17:05:48
专业收购三星ddr帝欧电子高价回收三星ddr,长期求购三星ddr,带板的也收,大量收购!!!帝欧赵生***QQ1816233102/879821252邮箱dealic@163.com。求购三星(K9
2021-10-26 19:13:52
合作伙伴签订《专利威廉希尔官方网站
合作协议》。 三、申请流程 有意合作的请邮件至公司邮箱kfskck@163.com。 需提供的信息包括:合作方公司名称、联系人及联系方式、仪表相关专利威廉希尔官方网站
介绍。 我们将会
2017-12-01 15:27:17
华为三星苹果高通的差异买IP做集成不宜包装为掌握核心科技
2021-01-28 07:21:57
四大旗舰处理器相继曝光,华为、苹果、三星、高通谁才是SOC的无冕之王?
2020-06-03 14:41:27
品版时代:10月14日一周前,苹果拒绝了三星提出的与之和解专利诉讼的提议。就在昨天,澳大利亚联邦法院批准了苹果提出的禁止三星在澳大利亚销售Galaxy Tab 10.1s平板电脑的禁令。 在三星
2011-10-16 12:33:15
报道称,摩托罗拉移动起诉苹果侵犯该公司两项专利权,德国曼海姆地区法院已经针对苹果发出禁令,不过这一禁令并未涉及任何特定的苹果产品。 摩托罗拉移动发言人珍妮弗·埃里克松表示:“我们将继续保护我们
2011-11-07 11:00:16
ID,但是也没说针对这个OTP怎么操作。所以请教一下,有没有使用过的大神帮忙指导一下,或者有三星flash芯片相关的威廉希尔官方网站
支持的联系方式,麻烦告知一下。谢谢!
2017-03-21 09:22:02
美国专利商标局USPTO近日曝光了三星的一份关于无线充电威廉希尔官方网站
的新专利,该威廉希尔官方网站
支持同时为多个设备充电;不同于以往的平板式充电平台,从专利描述当中给出的参考设计来看,这种无线充电设备的形态类似我们在上
2016-07-28 10:23:10
。专利不仅是武器,还是新的增长点国际市场有自己的游戏准则,纵观在全球智能手机市场,专利诉讼屡见不鲜,很多企业都希望通过诉讼来达成各自的商业诉求。三星、苹果、IBM、爱立信、中兴、华为等各领域一流企业
2016-06-25 15:06:55
虽然苹果已经意识到自身需要布局其他的供应商,但还是无法完全摆脱对三星的依赖,双方专利大战存和解的可能。三星方面相关人士也表示,不排除与苹果达成专利交叉授权协议的可
2012-05-22 08:49:41
324 据国外媒体报道,苹果在它与三星的专利大战中大获全胜,陪审团判决三星侵犯了苹果的6项专利,以下就是那6项被侵犯的专利。
2012-08-29 09:29:09
787 据外媒报道,苹果周二获得一项新专利授权,该专利能让移动设备指向某一物体时,显示与该物体相关数据信息。苹果将这项专利描述为“同步、交互式多功能设备增强现实显示威廉希尔官方网站
”。
2013-03-20 14:48:55
603 我们知道,曲面显示屏率先在三星Edge系列手机中使用,但其曲面屏产品似乎并未有效提升用户体验。根据苹果此项专利介绍,该曲面屏承载的功能要远远多于Galaxy S7 Edge。
2016-08-15 08:56:59
502 近期美国专利局公布了来自苹果的一系列防水专利,并且据显示,这些专利目前已经生效。根据专利描述可知,苹果自主研发了防水的接口系统,此外,该专利还描述了此前被用在Apple Watch上的防水按键等。
2016-08-19 09:47:37
1114 Patently Apple网站披露了一份从美国专利商标局获取的专利,该专利揭示出苹果可能正在开发一款适用于iPhone的Apple Pencil。
2016-12-16 10:31:29
1469 一直以来业界传闻苹果会在2017年推出新一代iPad,而其配件Apple Pencil却少有消息。近日有消息称苹果将会在今年三月份的春季发布会推出新一代Apple Pencil手写笔
2017-01-18 14:13:08
2459 如今最风靡的最新显示屏威廉希尔官方网站
莫过于可弯曲的柔性显示屏,例如三星在旗舰智能手机上使用的双侧边曲面屏幕。不过,与三星同在韩国的LG也不甘示弱,自身也研发了很多柔性显示屏幕威廉希尔官方网站
,并希望能够通过新威廉希尔官方网站
屏幕让设备的设计上升到全新的层次,至少最新曝光的专利突显了这一点。
2017-02-06 10:39:36
701 据美国科技网站Apple insider日前报导,美国专利商标局公布了一批新专利,其中一项惹人注目的专利是Apple Watch可为iPhone手机充电。
2017-02-07 10:31:11
747 为了巩固胜利果实,苹果总是专利不断,最近曝光的新专利再次向我们展示了苹果巨大的脑洞,它们准备将触摸功能扩大化,把全机身都变成触控板。
2017-02-13 15:51:47
498 
Pencil产品。今日,美国专利商标局发布了一份来自苹果的专利申请,新专利更加深入地研究了Apple Pencil的各个威廉希尔官方网站
方面。其中有一个就是“动态Stylus精确笔尖”,还有一个是“非线性Stylus的预处理”。
2017-03-13 09:04:53
2374 Apple Pencil 作为 iPad Pro 系列最酷的配件,因为拥有精准的定位、压感,完美的软件生态支持和笔锋识别等特性,一直都被笔记爱好者和画手们视作神器。
2017-12-01 14:32:59
576 LG早在之前就对于柔性显示屏威廉希尔官方网站
十分的看好,近日LG申请的一项与HUD有关的威廉希尔官方网站
专利被曝光,在专利中LG还描述了柔性显示屏的其他几种用法。LG表示将打造一款汽车专用的柔性透明显示屏。
2017-12-21 18:42:31
1566 
最近苹果申请近眼显示威廉希尔官方网站
专利曝光,揭露了苹果的增强现实眼镜计划,据悉,可能包括近眼显示器,可用于AR-VR头显。
2018-01-02 11:50:50
687 
对于科技公司来说,威廉希尔官方网站
专利是非常关键的一个部分,虽然专利文件上描述的功能不太可能立刻出现在实体产品上,但是他们还是会提前注册专利,比如苹果的 Apple Pencil、iPad 以及 Touch
2018-01-19 16:09:06
161 
三星拥有最为成功的移动显示屏幕威廉希尔官方网站
,许多异形屏的品质做得非常好,而且在早前还曝光出屏下指纹的专利。不仅如此,三星还有一项专利在近日被曝光。下面就随手机便携小编一起来了解一下相关内容吧。 三星 新专利
2018-02-21 15:59:00
4037 
昨天美国专利局授权了苹果的一项新专利,这项专利名为“双显示设备”,或许该威廉希尔官方网站
未来会用在MacBook系列产品上,其专利中的介绍是下屏既可以当做触控板也可以当做辅助显示屏,可以用来作绘制草图,控制游戏等。
2018-04-14 09:48:00
771 
这场专利之战可以追溯到2011年,经历七年的时间一路走上了最高法院。三星和苹果于上周重回法庭,苹果指责三星侵犯了其五项专利,其中包括三项设计专利和两项实用专利。
2018-05-28 16:41:19
7489 近日,三星一项新的专利曝光,不同于传统的滑盖手机,从专利的图纸来看,这是一款触摸屏手机,顶部屏幕可以在原先的屏幕上滑动,从而拓宽显示屏,使用户可以不用再横屏的状态下也能获得更大的视觉体验。
2018-06-01 15:10:00
3754 据Patenty Apple报道,苹果于近日取得了在SIM卡与音讯模组的加强防水专利威廉希尔官方网站
,除了加强涂层之外,还加入了密封式设计。目前的iPhone可能进水的位置包括喇叭、SIM
2018-06-14 10:45:00
3483 苹果今天获得了“圆形显示器”专利,该专利文本特别将手表作为一种可行产品,其中一个插图看起来也非常像手表,难道Apple Watch要变脸了?
2018-06-13 10:45:00
4340 最让人意外的是还是手写笔的加入。我们知道手写笔是三星Note系列的专利,然后从最新消息来看,新款iPhone手机也会采用这一设计。有消息表示,苹果将会在5.8英寸OLED屏幕的iPhone X与6.5英寸OLED屏幕的iPhone X Plus中加入对Apple Pencil触控笔的支持。
2018-08-15 16:32:05
1820 最近苹果的一项专利被曝光,专利文件显示,苹果打算在智能手机(也有可能是平板电脑)的显示屏上钻几个小孔,里面放置各种传感器,比如前置摄像头和3D结构光的元件,这样就不会出现刘海了,这个专利将有可能被应用到未来的iPhone上面。
2018-10-26 09:07:13
3671 
据Patently Apple官方消息显示,11月8日,美国专利与商标局公布苹果获得了一项Micro LED显示器相关专利,其涉及的视角调节层可能由全息结构形成。
2018-11-12 16:32:23
1459 
近期,三星两项新专利获得曝光:类似智能眼镜的头戴显示器和卷轴柔性屏显,接下来我们分别了解一下:
2019-01-06 06:02:00
1052 
1月18日消息,苹果公司的新专利被曝光,专利描述了一个复杂的系统,让用户可以通过手腕动作控制他们的Apple Watch,而无需触摸屏幕,另外,用户只要把iPhone对准物体就可以拍照。
2019-01-22 09:58:50
2906 2月19日,世界知识产权组织(WIPO) 展示了苹果公司最近的一项新专利,该专利用于Apple Watch,利用柔性屏幕让手表的表盘和表带都可以作为显示屏,这样的智能手表和手机差不多,难道说以后连手机都可以从手上解放了?
2019-02-22 09:32:53
4036 近日,在外媒网站上,三星手机新专利曝光,可推拉显示屏,屏幕可以增加60%。
2019-06-13 16:32:50
3442 据letsgodigital网站消息,在2019年6月11日,USPTO(美国专利商标局)和WIPO(世界知识产权组织)公布了一项三星的专利。该专利表明,三星手机也有可能用上背面副显示屏的设计。
2019-06-19 10:17:34
493 近日,外媒曝光了三星折叠屏新的设计专利,采用向外折叠设计,双弧形显示屏。
2019-06-27 17:28:12
3107 三星通过苹果专利网站(Patently Apple),向美国专利商标局(the U.S.Patent and Trademark Office)提交了一份有关AR眼镜的申请。
2019-07-18 10:36:44
3240 8月14日消息,美国专利商标局发布苹果又一项眼球追踪相关专利,与此前曝光的苹果眼球追踪专利不同,本专利中指出的威廉希尔官方网站
不局限于AR/VR头显,也可以用在电脑等设备。 专利中写到,这款眼球追踪系统或采用
2019-08-15 14:19:58
2818 
在探索手机形态方面,三星的灵感可以说是总能源源不断地涌现出来。近日,据报道,三星的最新屏幕专利曝光。在三星向美国专利和商标局(USPTO)提交的专利描述中显示,这一设计将允许屏幕在标准模式下显示出16:9的比例,而在充分拉伸时有一个更大的显示器,纵横比可达18:9。
2019-10-18 15:45:27
2739 一组三星VR眼镜专利图曝光。曝光的专利图显示,三星VR眼镜采用传统眼镜的外观设计,整体非常轻巧。另外,在左右镜片位置分别有一块屏幕。同时,眼镜的顶部还有类似摄像头的装置。
2019-10-24 15:08:23
3519 近日,美国专利商标局正式授权了苹果(AAPL-US) 一项新专利,是苹果公司第七项具有侧壁触摸显示屏的iPhone专利。
2020-01-02 14:03:07
2505 
据Patently Apple报道,美国专利商标局于近期授权了苹果41项新专利,其中涵盖了三项与健康相关的专利,涉及 Apple Watch 和 iPhone 的健康监测功能。
2020-01-08 17:48:39
2318 据Patently Apple报道,美国专利商标局于近期授权了苹果一项新专利,涉及未来的 Apple Pencil 3,其中包括支持手势输入等新功能。
2020-01-10 14:49:05
2809 近日,有外媒爆料,苹果公司注册了一项新的发明专利,该专利可以使苹果将多个元器件容纳在同一个腔室中,以节省Apple Watch机身内的空间。该专利表面看上去普普通通,但对Apple Watch的发展意义却十分重大。
2020-03-07 10:05:28
1553 
据消息报道,苹果今天已经获得了一项威廉希尔官方网站
专利,这项专利可能被用来规避折叠式显示屏随着时间的推移而出现折痕和开裂的问题。
2020-03-11 14:12:13
1906 苹果继续探索Apple Pencil的新功能,现在两项新专利显示可能的新功能包括触觉反馈和指导,并在Apple Pencil本身上显示更多信息。苹果新专利显示,将来的Apple Pencil中可能会集成添类似Touch Bar的控件,并且还会显示通常会被笔本身和用户手部遮挡的图形视图。
2020-03-20 14:09:12
2585 在就有关向Apple Pencil添加控件的不同方式提出了多项专利申请之后,苹果现在将手写笔放在了可以使用的表面之外。
2020-04-09 23:01:37
2643 此前,美国专利商标局曾曝光苹果申请的一项microLED全息显示方案。今天,又公布了一项相关专利,这次专利重点描述了全息显示的多视角动态调整方案。
2020-08-19 15:07:32
639 
苹果新专利显示,你们最想要的屏下指纹就要来了。 苹果在周二获得了美国专利商标局授予的一项名为 通过电子设备显示器进行短波红外光学成像的专利,在该专利中,苹果公司提出了在显示屏工作时使用屏下光线进行指纹识别的方法,也就
2020-11-04 11:19:40
1773 据外媒 Appleinside 报道,苹果周二通过两项新专利,皆与传闻中正在研发的头戴式显示设备(HMD)相关。 今年 5 月就有传闻称苹果正在研发 AR 头戴设备,报料人 Jon Prosser
2020-11-19 16:46:21
1423 
想解决的,就是它的续航问题。如何既控制产品尺寸,又能增强续航时间,苹果似乎想到了解决办法。 近日,据外媒消息称,苹果正在研究内置电池的新款Apple Watch表带。 从USPTO(美国专利商标局)上周授予的苹果Apple Watch专利来看,苹果在手表
2020-12-10 11:09:44
1612 未来的Apple Watch、iPhone或任何苹果设备的显示屏,都可能包含一个摄像头和摄像头闪光灯,只有在需要的时候才会对外可见。阻止Apple Watch这个手腕式视频通讯器普及的唯一原因是
2020-12-16 10:53:19
1399 
让智能手表实现全面屏是近年来很多公司努力的方向。近日,有外媒曝光了Apple Watch的两项专利,专利名称分别为“具有密封按钮生物识别传感系统的电子设备”以及“具有两极显示屏的电子设备”。根据专利内容推测,苹果可能正考虑为Apple Watch增加Touch ID和屏下指纹功能。
2020-12-17 10:24:12
1508 据外媒 appleinsider 报道,苹果最新曝光了一份识别交通手势的新专利,专利显示,Apple Car 可通过传感器识别引导人员的交通手势。
2021-02-03 09:31:11
1635 美国专利和商标局公布的一项新的苹果专利,描述了一种 iPhone 显示屏的多倍刷新率功能。
2021-02-18 10:40:30
1442 
据外媒报道称,苹果最近申请了一项新的设计专利,可以看到iPhone和iPad的背面有一块副显示屏。
2021-02-19 09:30:10
1287 2 月 19 日消息 苹果在美国专利和商标局(USPTO)提交了一个名为 “集成到薄膜晶体管背板中的光电探测器”的专利申请,该专利申请围绕着将摄像头、深度传感器、生物识别传感器等传感器放置在显示屏
2021-02-19 14:53:41
1767 方位的方法,另一项专利还曝光了苹果眼镜的自动清洁功能。 根据专利图片,眼镜正面以及头带上均配备大量麦克风,可以侦听不同方位的声音,从而在头戴显示装置上定位声音来源。专利中没有说明这项功能的具体应用,外媒表示或许可以配合 Apple Tag 蓝牙追踪器来寻找物品。 第二项专利
2021-02-27 11:04:19
2727 
近日有外媒曝光了新款Apple Pencil的谍照,并且表示它将会与新款的iPad Pro一同发布。从曝光的照片来看,第三代Apple Pencil将回归第一代手写笔的光面设计。此外,新款的Apple Pencil尺寸会更短,依旧可以通过磁力吸附在iPad侧面进行充电。
2021-03-04 14:48:39
3051 近日,苹果公司的一项屏下Face ID专利获批授权,该专利确认了iPhone 的刘海,已经得到了美国专利商标局的正式授予,该专利将深感摄像头模组放置在了手机显示屏下方,可通过屏下Face ID的形式来完成真全面屏的进化。
2022-04-13 09:48:08
1545 苹果智能戒指专利曝光 苹果智能戒指专利曝光了,大家来围观看看,这项“智能戒指”设计专利编号为“US 11625098 B2”。能够在增强现实(AR)或者虚拟现实(VR)场景下通过传感器交互来实现手势
2023-04-12 15:37:45
10101 11月22日,据国家知识产权局公告,洲明科技、雷曼光电、奥拓电子正在申请或已取得LED显示屏相关专利。
2023-11-24 13:59:38
321
评论