在最近一次接受日本报纸Nikkan Kogyo Shimbun的采访中,尼康总裁Kazuo Ushida(牛田一雄)先生再次暗示尼康将会在未来推出一款独具特色的无反相机产品。Kazuo Ushida表示,公司的重组并不会完全改变尼康产品需要与中高端单反相机竞争的局面,而且即便是销售量有所降低,公司仍然需要保持盈利能力。面对智能手机拍照用户的日益增多,尼康将会在未来推出具有高辨识度,且和其他公司产品有所不同的无反相机。与此同时,尼康也希望能够利用自己的光学威廉希尔官方网站
生产出兼具乐趣与性能的镜头类产品。

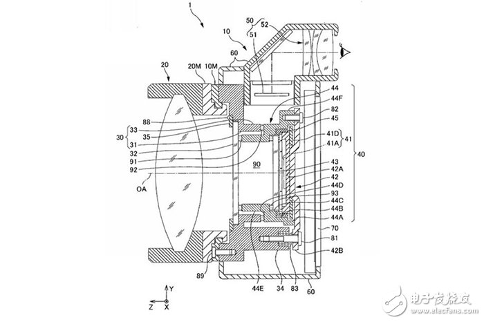
全新尼康1结构图
全新尼康1假想图
牛田一雄在访谈中说,在产品方面,这款全新无反应与中高端单反单反相机抗衡,不排除进行结构改革的可能性。虽然目前全行业的整体销量都在下滑,但尼康将继续致力于中高端单反领域的争夺。面对智能手机冲击,为吸引年轻一代拿出与众不同的尼康范儿的无反相机来面对同行和手机的竞争,也是尼康正在努力的方向。
·编辑观点:
尼康全新无反的传闻不是一天两天了,但是此次是尼康总裁的访谈透露,所以可信度还是非常高的,不过目前不确定是不是全画幅无反,但是根据尼康总裁的消息是一款与中高端单反相机抗衡的产品,那么可以推测全画幅无反的可能性还是比较大的。
相关推荐
音圈马达加持的尼康的无反相机。尼康Z9,既是一台足以承接单反时代荣光 D6 的产品,而且作为专业级的....
发表于 2021-12-17 16:28•
729次阅读

尼康宣布结束日本生产 早在2017年我们就发现在尼康官网发布了一则通知,关于尼康映像事业部的中国生产....
发表于 2021-06-08 19:06•
3448次阅读

今日,尼康公司宣布推出全新视频和图片浏览编辑软件——NX Studio(1.0版),该软件能够实现无....
发表于 2021-03-05 09:37•
2157次阅读

富士发布X-T200全新固件:稳定性再提高,富士,相机,无反相机,固件,t200
发表于 2021-03-03 14:26•
847次阅读

外型越来越徕卡 富士X-E4无反相机正式发布,无反相机,富士,徕卡,镜头,单机身
发表于 2021-02-22 11:52•
1166次阅读

富士在2021年新春到来之际,举办线上X Summit GLOBAL 2021全球峰会,一口气隆重地....
发表于 2021-02-20 17:08•
647次阅读

2020年,全球晶圆市场实现持续增长。专业晶圆代工厂受益的同时,产业链顶端的光刻机制造商也随着闷声发....
发表于 2021-02-18 17:48•
3282次阅读

尼康(Nikon)近日宣布成功开发出了一种全新的堆叠式 CMOS 传感器,能够以每秒 1000 帧的....
发表于 2021-02-18 16:25•
2626次阅读

着智能手机普及,相机市场受到冲击并持续萎缩,日本尼康(Nikon)传出将关闭位于日本的两座镜头工厂。....
发表于 2021-02-03 17:59•
2164次阅读

如果你是摄影爱好者,应该知道佳能和尼康这两个行业大品牌,也会对它们的一些机型有所了解,近日,尼康日本....
发表于 2021-01-12 10:39•
3938次阅读

1月8日,尼康在官网发布《关于镜头以及相机配件全球联保变更的通知》,称将不再为镜头以及相机配件提供全....
发表于 2021-01-10 10:04•
1653次阅读

1月8日,尼康在官网发布《关于镜头以及相机配件全球联保变更的通知》,称将不再为镜头以及相机配件提供全....
发表于 2021-01-10 09:48•
1778次阅读

在相机销售有些起色的同时,尼康却陷入了财务上的新困境。Nikon Rumors 援引朝日网站的报道称....
发表于 2020-12-23 12:01•
1833次阅读

现在的日本制造正面临一个问题,那就是为了摆脱成本限制,不少企业不得不选择放弃“日本产”,而尼康坚持了....
发表于 2020-12-22 17:40•
2176次阅读

尼康品牌在摄影圈的地位,是其他品牌很难撼动的,当然,它也并不是这不可撼动的品牌的唯一。12月21日,....
发表于 2020-12-21 11:33•
3644次阅读

12月3日消息,尼康今日发布了D5、D850、D500三款单反相机的固件更新,主要添加了对B型CFe....
发表于 2020-12-04 10:09•
12787次阅读

12月3日消息,尼康发布了D5、D850、D500三款单反相机的固件更新,主要添加了对B型CFexp....
发表于 2020-12-04 10:09•
2325次阅读

尼康今日发布了D5、D850、D500三款单反相机的固件更新,主要添加了对B型CFexpress存储....
发表于 2020-12-04 09:47•
1076次阅读

DoNews 11月23日消息(记者 丁凡)尼康公司计划裁员约2000人,占员工总数的10%,原因是....
发表于 2020-11-24 13:58•
1356次阅读

尼康公司日前宣布裁员10%,大约有2000人会失业,影响主要是光学系统部门,不过这次不只是相机部门裁....
发表于 2020-11-23 17:51•
1197次阅读

尼康公司日前宣布裁员10%,大约有2000人会失业,影响主要是光学系统部门,不过这次不只是相机部门裁....
发表于 2020-11-23 17:48•
1390次阅读

据报道,尼康计划裁员2000人,占其员工总数的10%。主要原因是其主要相机业务的低迷和全球半导体行业....
发表于 2020-11-23 12:15•
1690次阅读

尼康新品Z 5真实使用体验如何?知名博主在尼康发布会上畅聊使用心得 7月21日,大家期待的尼康新品发....
发表于 2020-07-22 14:36•
3732次阅读

早期的镜头防抖威廉希尔官方网站
比较落后,容易对最后的成像效果产生影响,画质较于不开防抖有一定程度的下降。但随着佳....
发表于 2020-06-12 11:43•
2935次阅读

尼康镜头中的VR其实是相机防抖威廉希尔官方网站
,VR(VibrationReduction)相机防抖威廉希尔官方网站
是一种可....
发表于 2020-03-19 09:56•
5251次阅读

此外,D6支持与D5相同的1000BASE-T以太网标准,其传输速度提高约15%。结合内置的Wi-F....
发表于 2020-03-09 15:42•
28523次阅读

3月9日,尼康中国官方宣布,受新型冠状病毒疫情影响,原计划于2020年3月开始上市销售的尼康数码单反....
发表于 2020-03-09 14:26•
2618次阅读

2月26日晚间,富士正式发布了X系列旗舰无反相机“X-T4”,号称该系列的巅峰之作,拥有五轴防抖、史....
发表于 2020-02-27 10:10•
3049次阅读

2月26日,富士将在今晚19:00发布旗舰无反新品——富士X-T4,官方号称这是X系列的巅峰之作,虽....
发表于 2020-02-26 16:41•
2990次阅读

尼康沉迷Z卡口不能自拔,此前接连上市了4款F/1.8光圈的Z镜头,分别是尼克尔Z 85mm f/1.....
发表于 2020-02-17 16:36•
3461次阅读

经过去年的开发公告和一系列爆料之后,尼康正式发布了新旗舰单反——尼康D6,主要面向体育和新闻摄影记者....
发表于 2020-02-13 17:03•
2913次阅读

尼康D780配备触摸屏,采用了更加轻盈的机身设计,支持捕捉快速动作、延时视频拍摄与4K视频等功能,其....
发表于 2020-01-17 16:29•
3597次阅读

各数码相机企业受摄像头性能提高后的智能手机的挤压,业绩均不容乐观,全球数码相机市场正进一步冷却。
发表于 2020-01-02 15:51•
3997次阅读

在索尼佳能大搞动作的时候,尼康终于也坐不住了。据消息报道,尼康将于2020年1月份发布3款产品:尼康....
发表于 2019-12-30 16:12•
11735次阅读

手机镜头越来越多,修图应用也越来越全能,对数码相机有需求的消费者群体逐渐缩小。数码相机顶端三大厂——....
发表于 2019-12-20 15:08•
2993次阅读

当以100%以上的缩放率查看影像区域选为FX(36×24)并在演示模式下所拍的照片时,屏幕底部会出现....
发表于 2019-12-17 13:57•
5477次阅读

相较于去年影像厂商们全力在全画幅微单市场中角逐厮杀,今年能明显感受到他们似乎把一部分重心放到了半画幅....
发表于 2019-12-16 16:52•
4139次阅读

知名维修网站iFixit证实,尼康将于2020年3月终止美国的授权维修项目,即取消了美国10多家第三....
发表于 2019-12-11 11:16•
2017次阅读

2018年,索尼宣布未来三年在图像传感器上投资90亿美元,以主导数码影像市场。CEO吉田宪一郎(Ke....
发表于 2019-12-04 09:56•
3244次阅读

图丽曾推出过一款型号为AT-X 100MM F/2.8 PRO FX MACRO的微距镜头,这支镜头....
发表于 2019-11-18 15:41•
3520次阅读

尼康D750发布于2014年9月,配备了一块约2,432万有效像素全画幅传感器以及EXPEED 4图....
发表于 2019-11-14 14:53•
3687次阅读

近日,尼康公司宣布推出可从8倍到24倍放大的紧凑型3倍变焦双筒望远镜Sportstar 8-24x2....
发表于 2019-11-05 17:10•
3636次阅读

10月10日,尼康宣布推出适用于尼康Z卡口系统全画幅(尼康FX格式)微单数码相机的手动对焦大光圈定焦....
发表于 2019-10-11 09:38•
2326次阅读

9月12日,富士发布旗下新款入门级便携无反相机X-A7,以取代X-A5。
发表于 2019-09-12 17:18•
3427次阅读

6 月 19 日,哈苏一口气发布了四款新品,当中包括中画幅可换镜头无反相机 X1D II-50c 和....
发表于 2019-07-08 11:32•
15486次阅读

尼康广角佳能长焦是摄影圈对两大原厂镜头普遍印象,然而事实是自大灯泡后尼康再没有推过压倒性的广角变焦镜....
发表于 2019-07-06 09:14•
32586次阅读

在2月14日,尼康发布了Z卡口第一支大三元镜头尼克尔Z 24-70mm f/2.8 S。有鉴于第一批....
发表于 2019-07-06 09:10•
25344次阅读

不知道大家是否对相机感兴趣,虽然日常生活中大家都习惯于用手机进行拍摄,但是不得不说,在一些时候传统相....
发表于 2019-07-02 16:27•
3286次阅读

尼康向Velodyne投资了2500万美元,并且与其合作开发感测元件和扫描仪,打造精度更高的雷达元件
发表于 2019-06-19 14:31•
2322次阅读

近期,Kolarivision对尼康Z7进行了详细地拆解体验。作为尼康全新打造的全画幅微单,尼康Z7....
发表于 2019-06-13 15:05•
7777次阅读

对于50mm焦段的定焦镜头来说,我们更多人会将它作为摄影入门适合初学者的第一支定焦镜头, 50mm也....
发表于 2019-06-06 14:09•
15521次阅读

在最近富士正式公布了中画幅无反相机GFX100中国区售价,单机身67900元。GFX100是全球首款....
发表于 2019-05-31 10:09•
5097次阅读

尼康刚刚杀入了激光雷达(LIDAR),通过与相机镜头制造商 Velodyne 合作开发传感器和扫描仪....
发表于 2019-05-10 17:48•
2690次阅读

作为尼康家画质担当,D800系列从发布之初就一直受到尼康粉的认可和推崇,可是前几代时不时发生的小状况....
发表于 2019-03-04 10:18•
7154次阅读

今年,尼康在其百年诞辰之际发布了新款D7X00系列相机——D7500。
发表于 2019-03-04 10:00•
54854次阅读

虽然尼康Z7光芒耀眼,是目前综合实力最强的全画幅微单之一,但是我们也不能忽略尼康Z7的双胞胎兄弟Z6....
发表于 2019-02-14 10:38•
8654次阅读

之前在东京全球发布会时其实已经体验过Z7和Z 24-70mm f/4 s的组合了,也做了试拍评测,不....
发表于 2019-02-13 09:42•
22492次阅读

如果你曾经想象过尼康D700拆解之后会是什么样的?那么今天就是你的Lucky Day。捷克摄影师马丁....
发表于 2019-01-29 11:31•
8255次阅读

评论